[ Новые сообщения · Участники · Правила форума · Поиск · RSS ]



  • Страница 1 из 1
  • 1
Модератор форума: genvik, енот, evven, babysh-m  
Ультрафиолетовая бактерицидная лампа
techm3dikДата: Вторник, 16.Авг.2011, 14:03 | Сообщение # 1
Стажер
У вас сообщений: 10
Медтехник
OFFлайн
Казахстан

Семей
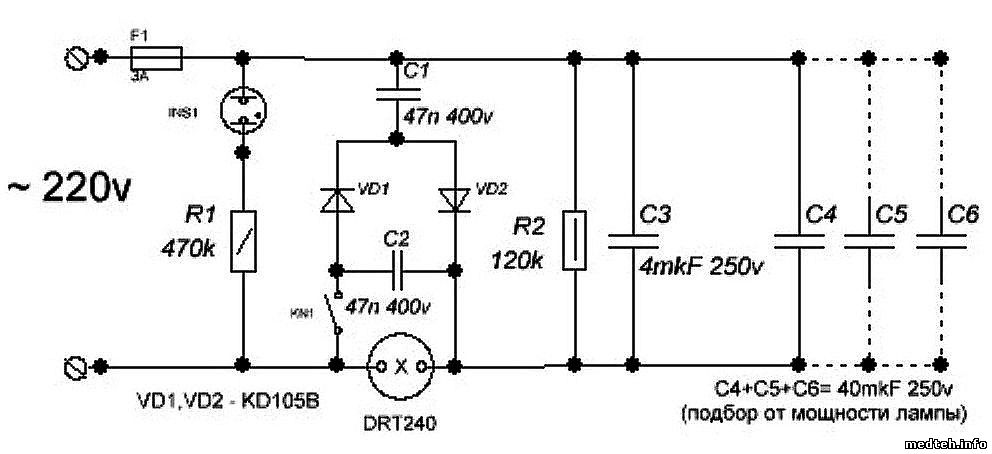
Имеется старая советская плата, на корпусе нет названия и т.д. включается, работает ровно 10 минут потом лампа начинает светиться сильнее и начинает дребезжать моргать после чего гаснет. Проверил все 5 кондеров соединенных параллельно - ёмкости целые. От этих кондеров идут провода в плату, на ней 2 диода 2 кондера по 0.047мкф и 1 резистр всё целое .. в чем может быть проблема?
 
babysh-mДата: Вторник, 16.Авг.2011, 18:41 | Сообщение # 2
сервисный инженер
OFFлайн
Российская Федерация

Екатеринбург
Сама "горелка" очевидно ДРТ 260, если так, то нужно менять эту лампу.
 
STarasДата: Вторник, 16.Авг.2011, 19:10 | Сообщение # 3
инженер-электроакустика, ультразвук
OFFлайн
Украина

Ровно
Quote (babysh-m)
Сама "горелка"
- наверное речь об Облучатель ртутно-кварцевый настольный ОКН-11-М
 
babysh-mДата: Вторник, 16.Авг.2011, 22:19 | Сообщение # 4
сервисный инженер
OFFлайн
Российская Федерация

Екатеринбург
Quote (STaras)
наверное речь

Именно что наверное.
techm3dik, Выложи фотографию или, на худой конец, более подробное описание.
 
AlexiumДата: Вторник, 16.Авг.2011, 22:43 | Сообщение # 5
Инженер медтехник
OFFлайн
Российская Федерация

Саратов
Думаю выглядит так
z1279-1.pdf (10.7 Kb) · z1279-2.pdf (10.1 Kb)
 
babysh-mДата: Вторник, 16.Авг.2011, 22:49 | Сообщение # 6
сервисный инженер
OFFлайн
Российская Федерация

Екатеринбург
Quote (Alexium)
Думаю выглядит так

Думать можно всякое, полностью согласен с тобой.
Но вопросы все таки нужно задавать более предметно и конкретно.
 
techm3dikДата: Среда, 17.Авг.2011, 09:19 | Сообщение # 7
Стажер
У вас сообщений: 10
Медтехник
OFFлайн
Казахстан

Семей
Alexium, да это именно она! горелка абсолютно новая, но есть и старая, обе себя одинаково ведут.
 
AlexiumДата: Среда, 17.Авг.2011, 10:40 | Сообщение # 8
Инженер медтехник
OFFлайн
Российская Федерация

Саратов
Периодический обрыв диода.
 
babysh-mДата: Среда, 17.Авг.2011, 13:10 | Сообщение # 9
сервисный инженер
OFFлайн
Российская Федерация

Екатеринбург
Замечено что при балласте в виде емкостей "горелка" начинает плохо запускаться значительно раньше чем при индуктивном балласте. Плохо или совсем не запускаются пока горячие и не остынут.
 
techm3dikДата: Среда, 07.Сен.2011, 11:15 | Сообщение # 10
Стажер
У вас сообщений: 10
Медтехник
OFFлайн
Казахстан

Семей
Всем спс за ответы.

Что еще может быть - ума не приложу... Диоды впаял новые - то же самое. Параллельно воткнул еще по диоду - тот же эффект...
 
AlexiumДата: Четверг, 08.Сен.2011, 14:58 | Сообщение # 11
Инженер медтехник
OFFлайн
Российская Федерация

Саратов
Ищите где плохой контакт. Может быть кнопка запуска SB. Еще раз проверьте конденсаторы.
 
SeptДата: Четверг, 08.Сен.2011, 23:12 | Сообщение # 12
OFFлайн
Украина

Житомир
techm3dik, самый простой метод проверки, прицепи паралельно лампе стрелочный тестер
и если в момент включения лампы, просадки напряжения нет, лампу менять.
 
МВРДата: Воскресенье, 23.Окт.2011, 02:09 | Сообщение # 13
Медтехник
OFFлайн
Российская Федерация

.
Сделайте проще, отключайте последовательно по одному конденсатору МБГЧ-1 и смотрите как будет работать с поставленной (или уже стоящей) ДРТ-240, Начните с меньшего по ёмкости ... Обычно двух достаточно ...

Сообщение отредактировал МВР - Среда, 26.Окт.2011, 22:44
 
i386Дата: Среда, 26.Окт.2011, 19:38 | Сообщение # 14
Стажер
У вас сообщений: 24
новенький
OFFлайн
Украина

ua
возможно потеря емкостей конденсаторов(типа БМТ2 или других) в паралельном соединении некоторое время держат заряд
 
jbsДата: Четверг, 27.Окт.2011, 19:22 | Сообщение # 15
Стажер
У вас сообщений: 48
Tehnik
OFFлайн
Российская Федерация

N Chelny
Quote (i386)
возможно потеря емкостей конденсаторов(типа БМТ2 или других) в параллельном соединении некоторое время держат заряд

Правильно думаешь, но не только потеря ёмкости, но и превышение её сопротивления для проверки ёмкостей надо использовать спец прибор RC метр называется. В инете есть таблица для ёмкостей по сопротивлению, то есть по допустимому сопротивлению конденсаторов если емкость превысит допустимую норму то его надо выкидывать
 
YurkevichДата: Четверг, 27.Окт.2011, 21:56 | Сообщение # 16
У вас сообщений: 567
инженер-наладчик
OFFлайн
Российская Федерация

выборг
Jbs Учите теорию. Для измерения емкости используют измерители емкости. Последовательное активное сопротивление - ESR это активное сопротивление выводов, внутри конденсатора (в месте соединения выводов с обкладками) в основном относится к электролитическим конденсаторам большой емкости, используемых в цепях фильтров питания. (упрощенно говоря - переменная составляющая напряжения после выпрямителя "замыкается на землю" через малое реактивное сопротивление конденсатора К примеру конденсатор 1000мкФ на частоте 100 Гц (частота пульсаций любого двухполупериодного выпрямителя) имеет реактивное сопротивление менее 1 Ома и ,следовательно, любой плохой контакт внутри конденсатора значительно ухудшает фильтрующие свойства. В бактерицидной лампе конденсатор обеспечивает ,при горящей лампе, падение напряжения около 100В - т.е. имеет реактивное сопротивление порядка сотни Ом. В этом случае несколько Ом добавляемые ESR конденсатора практически роли не играют (тем более, что в лампе конденсаторы включены в парралель) единственное что - сам конденсатор будет дополнитнльно нагреваться
И не надо "отключайте последовательно по одному конденсатору МБГЧ-1" - у Вас уменьшится емкость, следовательно возрастет реактивное сопротивление и как следствие падение напряжения на конденсаторах при зажигании лампы и она не выйдет на самостоятельный разряд
 
jbsДата: Пятница, 28.Окт.2011, 06:43 | Сообщение # 17
Стажер
У вас сообщений: 48
Tehnik
OFFлайн
Российская Федерация

N Chelny
Читай внемательно я же сразу начал говорить про сопротивление ёмкости а значит что прибор RC метр и служит для проверки сопротивления конденсаторов а не измерения ёмкости,
Можно мерить и ESR прибором но в наличии у меня нет есть воттакой RC метр http://www.bezkz.su/publ/rc_metr_bez_mikrokontrollera/29-1-0-410


Сообщение отредактировал jbs - Пятница, 28.Окт.2011, 07:34
 
YurkevichДата: Пятница, 28.Окт.2011, 12:48 | Сообщение # 18
У вас сообщений: 567
инженер-наладчик
OFFлайн
Российская Федерация

выборг
jbs Еще раз повторяю: Учите теорию. Последовательное активное сопротивление (ESR) критично для конденсаторов большой емкости (сотни и тысячи мкФ) работающих в фильтрах питания и тех цепях, где необходимо получение малого реактивного сопротивления на заданных частотах например конденсаторы, включенные параллельно эмитерным резисторам, разделительный конденсатор на выходе усилителя мощности НЧ и пр. Как правило ESR измеряют и проверяют только у электролитических конденсаторов, поскольку ухудшение контакта между выводами и обкладками у них определяется их конструкцией.
В нашем случае конденсатор выполняет роль балластного сопротивления величиной порядка сотен Ом. И повышенное ESR (а оно составляет единицы Ом) особой роли не играет. Тем более что используются металлобумажные (или аналогичные) конденсаторы емкостью в единицы мкФ.
И метод ремонта (от тех, кто "академиев не кончал"): меняется на новую (проверенную на другом аппарате) горелка; проверяются соединения. Далее, паралельено имеющимся "старым" конденсаторам подключают новый (при необходимости добавляют еще, пока лампа не загорится). Поочередно отключают "старые" конденсаторы. Если после отключения лампа загорается то этот конденсатор убирают, если при включении лампа не загорается - то подключают назад. Так повторяют пока не проверят все "старые" конденсаторы
 
jbsДата: Пятница, 28.Окт.2011, 15:42 | Сообщение # 19
Стажер
У вас сообщений: 48
Tehnik
OFFлайн
Российская Федерация

N Chelny
Я это знаю но всё же мне не приходилось таким методом чинить
Quote (Yurkevich)
И метод ремонта (от тех, кто "академиев не кончал"): меняется на новую (проверенную на другом аппарате) горелка; проверяются соединения. Далее, паралельено имеющимся "старым" конденсаторам подключают новый (при необходимости добавляют еще, пока лампа не загорится). Поочередно отключают "старые" конденсаторы. Если после отключения лампа загорается то этот конденсатор убирают, если при включении лампа не загорается - то подключают назад. Так повторяют пока не проверят все "старые" конденсаторы
 
user_medtehДата: Понедельник, 06.Апр.2020, 12:30 | Сообщение # 20
Заглянувший
У вас сообщений: 1
сантехник
OFFлайн
Гондурас

Тегусигальпа
https://sun9-26.userapi.com/c857720/v857720995/1ca977/nxiqOXXRi8c.jpg
9980168.jpg (59.2 Kb)


Гондурасян
 
  • Страница 1 из 1
  • 1
Поиск:



Статистика Форума
Последние обновления тем: Новые файлы хранилища: Новые участники: Top10 участников:
1. Установка импульсная ...[юранак (13.Фев.2026)]
2. ИВЛ Hamilton C1 ф.Ham...[masloff (12.Фев.2026)]
3. Выбор принтера для ра...[seabee (12.Фев.2026)]
4. Sonoscanner Orcheo li...[Azatus7 (10.Фев.2026)]
5. рентген.аппарат Prote...[medplus (06.Фев.2026)]
6. ремонт спектрофотоме...[specordm (06.Фев.2026)]
7. Вошер PW-40 ф.Bio-Rad[zennka (06.Фев.2026)]
8. Медицинское лаборатор...[ruha (05.Фев.2026)]
9. MicroAire 5020 гаснет...[Sergei_m (04.Фев.2026)]
1. Apollo EZ service man...[25.Дек.2025]
2. VIVIX Setup Operation...[12.Окт.2025]
3. GenwareMP[10.Сен.2025]
4. Настройка реагентов M...[20.Авг.2025]
5. Philips HD3-EXP[13.Авг.2025]
6. Рентгеновское оборудо...[08.Авг.2025]
7. VersaMed iVent201 Сер...[13.Фев.2025]
8. Гелпик КРД Ренекс РЦ ...[09.Фев.2025]
9. Офтальмологическая ус...[31.Окт.2024]
10. Cardinal-Health-VELA-...[03.Окт.2024]
1. vladimir_r[13.Фев.2026]
2. vlknv[13.Фев.2026]
3. Ormet[13.Фев.2026]
4. Pyrkin_Vladislav[13.Фев.2026]
5. cassius77[13.Фев.2026]
6. Dadasha[12.Фев.2026]
7. Vadka1977[12.Фев.2026]
8. Igoda[12.Фев.2026]
9. svetla[12.Фев.2026]
10. nz911[12.Фев.2026]
МастерБаку[583]
Yulana34[177]
Serg74[160]
Dimitrius[129]
naves[122]
РОМУЛ[121]
bektyish[121]
madmac[116]
Алекс-200[114]
генаf[112]