[ Новые сообщения · Участники · Правила форума · Поиск · RSS ]



  • Страница 1 из 1
  • 1
Модератор форума: dima_perikov, YRA46  
Компрессор 1-jsk-46-4, не качает воздух в ресивер
warlockДата: Вторник, 27.Апр.2010, 23:55 | Сообщение # 1
Стажер
У вас сообщений: 49
сервис
OFFлайн
Российская Федерация

Москва
Компрессор пашет и свистит, а воздуха на инструментах нет. отсоединяю от компрессора воздухоочиститель - все замечательно - компрессор качает в атмосферу. может засорился воздухоочиститель? Стоматологическая установка "Хирадент 654С1"

Причина редактирования: Нарушение Правил форума. Предупреждение.


Сообщение отредактировал medteh - Среда, 28.Апр.2010, 23:43
 
SeptДата: Среда, 28.Апр.2010, 00:00 | Сообщение # 2
OFFлайн
Украина

Житомир
Воздухоочиститель это на входе компрессора или на выходе?
 
warlockДата: Среда, 28.Апр.2010, 00:10 | Сообщение # 3
Стажер
У вас сообщений: 49
сервис
OFFлайн
Российская Федерация

Москва
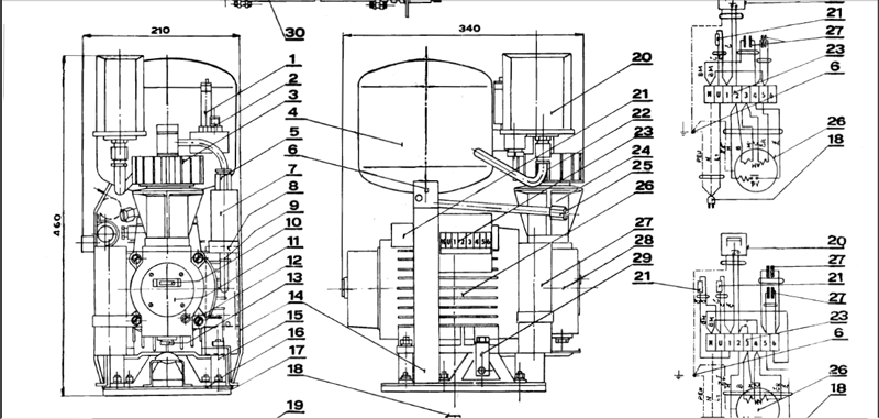
на выходе, он междумотором с поршнем и воздушным ресивером - цилиндрик такой в чешском описании компрессора под цифрой 7
 
SeptДата: Среда, 28.Апр.2010, 00:16 | Сообщение # 4
OFFлайн
Украина

Житомир
Это фильтр, бывает и забиваеться. Попробуй без него, напрямую. Он разборный? Компрессор какой?
Если масляный то фильтр забиваеться маслом и опилками. Нужно или чистить или менять.
 
warlockДата: Среда, 28.Апр.2010, 00:23 | Сообщение # 5
Стажер
У вас сообщений: 49
сервис
OFFлайн
Российская Федерация

Москва
компрессор 1-jsk-46-4. попробую почистить фильтр
 
SeptДата: Среда, 28.Апр.2010, 00:26 | Сообщение # 6
OFFлайн
Украина

Житомир
warlock, я в партномерах и обозначениях не очень, лучше фотку.
 
warlockДата: Среда, 28.Апр.2010, 00:34 | Сообщение # 7
Стажер
У вас сообщений: 49
сервис
OFFлайн
Российская Федерация

Москва
че не присоединился файл?
 
SeptДата: Среда, 28.Апр.2010, 00:41 | Сообщение # 8
OFFлайн
Украина

Житомир
Нет. Может его сжать?
 
warlockДата: Среда, 28.Апр.2010, 00:45 | Сообщение # 9
Стажер
У вас сообщений: 49
сервис
OFFлайн
Российская Федерация

Москва
а так
3864143.gif (113.2 Kb) · 8333126.gif (207.4 Kb)
 
SeptДата: Среда, 28.Апр.2010, 00:52 | Сообщение # 10
OFFлайн
Украина

Житомир
Компрессор Юнит, масляный. Это фильтр-маслопоглотитель. Попробуй сначала без него. Потом, если разборный почисть если нет, меняй.
 
warlockДата: Среда, 28.Апр.2010, 00:54 | Сообщение # 11
Стажер
У вас сообщений: 49
сервис
OFFлайн
Российская Федерация

Москва
ага , спасибо, завтра займусь
 
dima_perikovДата: Среда, 28.Апр.2010, 01:04 | Сообщение # 12
Стоматология, Косметология
OFFлайн
Российская Федерация

Ставрополь
Дайте хоть слово вставить. warlock, сделай так как Sept советует. Нужно прочистить и все заработает. Должно получиться.

Замечания и предложения принимаются по адресу: all-for-stomatology@yandex.ru
Телефон, WhatsApp, Viber: +7 (918) 758-48-31
 
YRA46Дата: Среда, 28.Апр.2010, 08:51 | Сообщение # 13
Стоматология, Стерилизация
OFFлайн
Российская Федерация

г. Курск
warlock, для начала правильно напиши тему, вот так например "компрессор 1-jsk-46-4, не качает воздух в ресивер" И стоматустановка тогда скорее всего "Хирадент 654С1"
Quote (Sept)
Это фильтр-маслоотделитель.

yes еще там в верхней части стоит обратный клапан-конус подпружиненный
 
warlockДата: Среда, 28.Апр.2010, 18:16 | Сообщение # 14
Стажер
У вас сообщений: 49
сервис
OFFлайн
Российская Федерация

Москва
Всем спасибо. Почистил масляный фильтр. Теперь воздух идет. Но работает давольно громко и сильно греется цилиндр с поршнем. Врачи говорят, что так он и работал раньше. Не знаю, может маслица куда капнуть.
 
SeptДата: Среда, 28.Апр.2010, 21:28 | Сообщение # 15
OFFлайн
Украина

Житомир
warlock, цилиндр смазываеться от разбрызгивания масла коленвалом, главное не прозевай уровень масла в картере. Поправь тему как говорит Юрий-46, потом "поисковику" легче будет.
 
warlockДата: Четверг, 29.Апр.2010, 17:09 | Сообщение # 16
Стажер
У вас сообщений: 49
сервис
OFFлайн
Российская Федерация

Москва
а как узнать какой должен быть уровень масла?
 
STarasДата: Четверг, 29.Апр.2010, 21:10 | Сообщение # 17
инженер-электроакустика, ультразвук
OFFлайн
Украина

Ровно
Для того и заставляли правильно писать название аппарата в заглавии.
И, обычно, перед тем как спрашивают, внимательно читают весь форум, в результате чего находят вот эту тему:
http://medteh.info/forum/35-691-1
Документацию я выкладывал в хранилище - ищи, она там.
В ней на чистом чешском языке написано, что наливается по дырку, которая образовывается в результате выворачивания винтика.


Чти вело свое – ибо не ты на нём едешь, но оно везёт тебя
 
warlockДата: Четверг, 29.Апр.2010, 22:58 | Сообщение # 18
Стажер
У вас сообщений: 49
сервис
OFFлайн
Российская Федерация

Москва
Нашел такой. Спасибо!!!!!!!!!!
 
trualДата: Вторник, 04.Май.2010, 15:32 | Сообщение # 19
У вас сообщений: 113
Стоматология, стерилизация
OFFлайн
Российская Федерация

Владивосток
А масляные компрессоры снова в моде! Харизма и геркулайт трепещут!
 
dima_perikovДата: Воскресенье, 09.Май.2010, 23:25 | Сообщение # 20
Стоматология, Косметология
OFFлайн
Российская Федерация

Ставрополь
Поставить нормальный фильтр. Постоят еще пломбы

Замечания и предложения принимаются по адресу: all-for-stomatology@yandex.ru
Телефон, WhatsApp, Viber: +7 (918) 758-48-31
 
androidДата: Понедельник, 28.Июн.2010, 12:33 | Сообщение # 21
Стажер
У вас сообщений: 19
Стоматология
OFFлайн
Российская Федерация

Воронеж
Quote (warlock)
а как узнать какой должен быть уровень масла?

внизу есть винт на лицевой стороне. его откручиваешь и если из отверстия не полилось масло, значит его не достаточно.


Лужу , паяю, починяю примусы
 
  • Страница 1 из 1
  • 1
Поиск:



Статистика Форума
Последние обновления тем: Новые файлы хранилища: Новые участники: Top10 участников:
1. Замена светодиода на ...[Shturman (05.Дек.2025)]
2. Анализатор поля зрени...[SpirituS (04.Дек.2025)]
3. Программный комплекс ...[mqubali (04.Дек.2025)]
4. Кардиорегистратор «ИК...[albano18 (04.Дек.2025)]
5. Thermo Scientific gem...[viggen (03.Дек.2025)]
6. Центрифуга CM-6M ф.El...[Ningen64 (03.Дек.2025)]
7. Дефибриллятор Defi B ...[san-che30 (02.Дек.2025)]
8. Коллиматор Ralco R 22...[seeker (02.Дек.2025)]
9. КУПЛЮ/ПРИМУ в дар при...[seabee (02.Дек.2025)]
1. VIVIX Setup Operation...[12.Окт.2025]
2. GenwareMP[10.Сен.2025]
3. Настройка реагентов M...[20.Авг.2025]
4. Philips HD3-EXP[13.Авг.2025]
5. Рентгеновское оборудо...[08.Авг.2025]
6. VersaMed iVent201 Сер...[13.Фев.2025]
7. Гелпик КРД Ренекс РЦ ...[09.Фев.2025]
8. Офтальмологическая ус...[31.Окт.2024]
9. Cardinal-Health-VELA-...[03.Окт.2024]
10. Service Manual HAMILT...[02.Окт.2024]
1. Dvish[05.Дек.2025]
2. Intellect[05.Дек.2025]
3. Romanivanov[05.Дек.2025]
4. igogoigogo[05.Дек.2025]
5. 1rishka[04.Дек.2025]
6. L_V_N[04.Дек.2025]
7. ИвановИИ[04.Дек.2025]
8. Alex_U[04.Дек.2025]
9. Yarikus03[03.Дек.2025]
10. EvaLen[03.Дек.2025]
МастерБаку[583]
Yulana34[177]
Serg74[160]
Dimitrius[129]
naves[122]
РОМУЛ[121]
bektyish[121]
madmac[116]
Алекс-200[114]
begun_a[112]