[ Новые сообщения · Участники · Правила форума · Поиск · RSS ]



  • Страница 1 из 1
  • 1
Модератор форума: genvik, енот, evven, babysh-m  
Аппарат УВЧ-терапии УВЧ-30 з-да "ЭМА" (Москва)
leha3103Дата: Понедельник, 30.Янв.2012, 14:45 | Сообщение # 1
Участник
У вас сообщений: 83
Инженер
OFFлайн
Российская Федерация

Тюмень
При включении аппарата выгорают резисторы на релюшке. На переключателе мощности отвалился провод.
Кто может помочь советом или схемой?
.

В связи с наличием большого количества аппаратов, наименование марки которых начинается с "УВЧ-30", необходимо в обязательном порядке указывать их марку точно и точно указывать производителя аппарата!
В темах об этих аппаратах наблюдается недопустимая путаница вопросов и ответов/советов!


Специализированные темы о проблемах с конкретными моделями аппаратов типа УВЧ-30 см. по адресам -
- http://www.medteh.info/forum/34-0-1-0-10-1-[увч-30]
- http://www.medteh.info/forum/34-19755-1
 
генаfДата: Понедельник, 30.Янв.2012, 17:23 | Сообщение # 2
У вас сообщений: 611
медтехникl
OFFлайн
Российская Федерация

leha3103, в хранилище инструкция и схема http://www.medteh.info/load/59-1-0-53
 
leha3103Дата: Вторник, 31.Янв.2012, 06:06 | Сообщение # 3
Участник
У вас сообщений: 83
Инженер
OFFлайн
Российская Федерация

Тюмень
Спасибо!
.
leha3103 и другие, обязательно посмотрите п.2.10 по адресу - https://www.medteh.info/forum/22-1216-1
 
Serjio84Дата: Четверг, 23.Окт.2014, 13:12 | Сообщение # 4
Стажер
У вас сообщений: 44
инженер
OFFлайн
Российская Федерация

Вологда
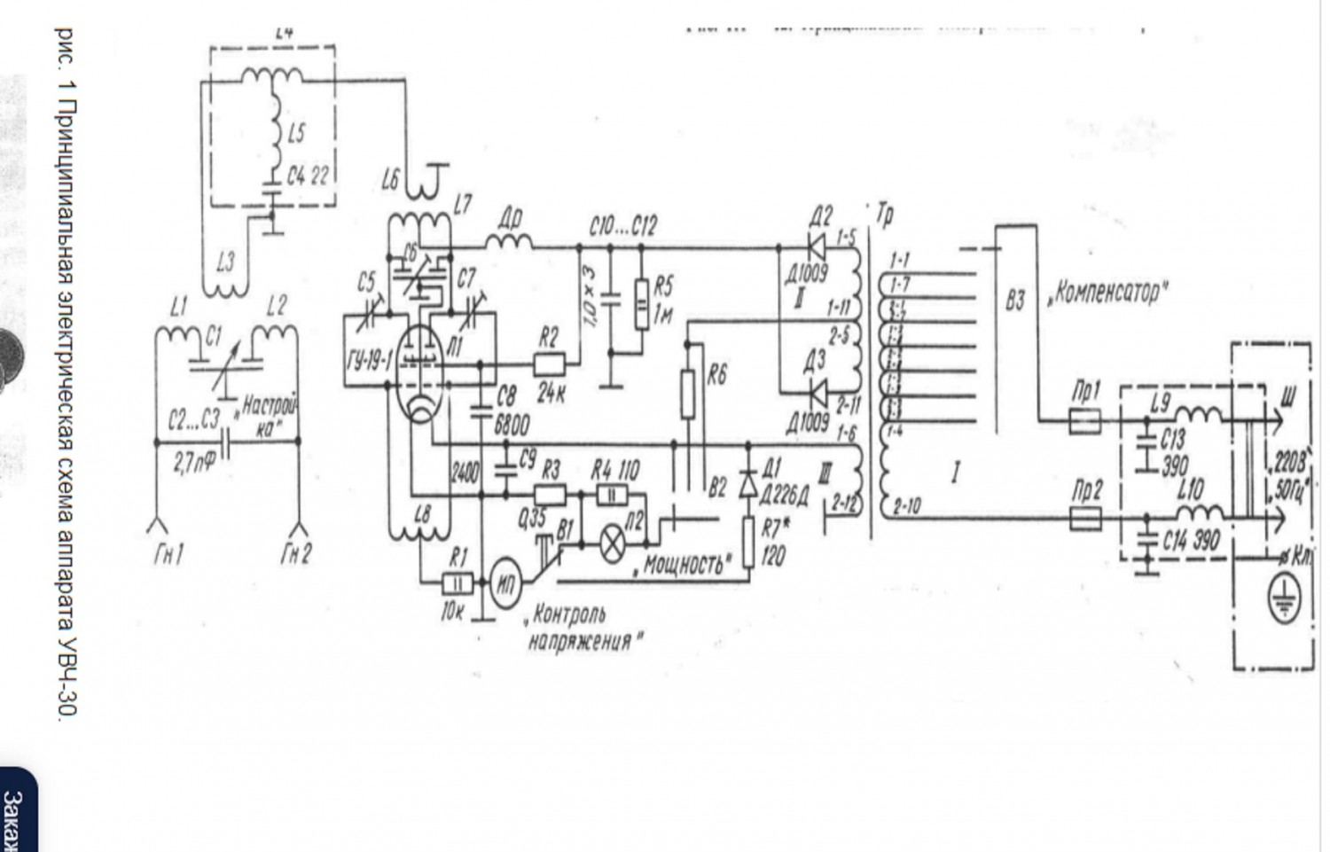
Раздобыл схему на аппарат УВЧ-30 производства завода "ЭМА" в Москве.
Спецификация также прикладывается.
5232091.jpg (207.3 Kb) · 8137528.jpg (193.4 Kb) · 0831888.jpg (86.3 Kb)
 
СинявскийДата: Воскресенье, 16.Апр.2023, 08:30 | Сообщение # 5
Стажер
У вас сообщений: 11
электромеханик
OFFлайн
Российская Федерация

гваделупа
Здравствуйте.
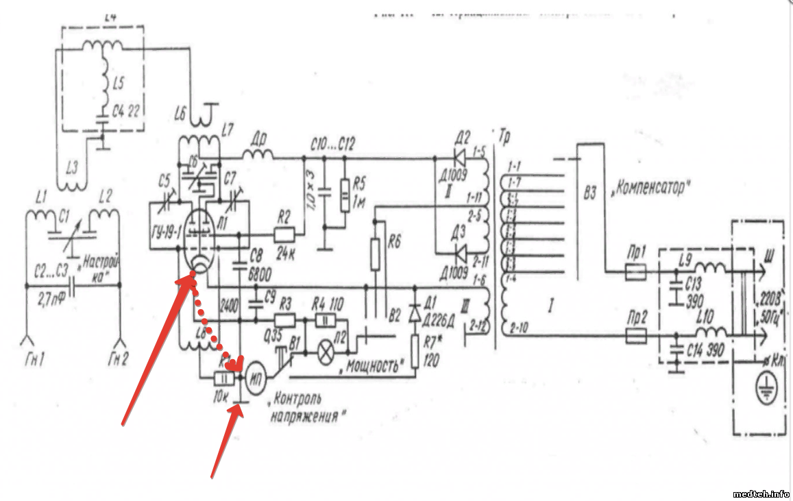
Имеем аппарат УВЧ-30, 1973 год. Индикатор сети не горит, генераторная лампа не светится, УВЧ поля нет (проверял люминисцентной лампой). Я первый раз в жизни ремонтирую этот аппарат.
Разобрал, лампа накаливания не звонится (в обрыве). Увидел, что один контакт патрона лампы 13,5 В припаян напрямую к корпусу (земля). Мне это показалось странным, вроде как, замыкание цепи получается.
Стал искать схему на этот аппарат.
В схеме нет замыкания от лампы на землю, а в аппарате есть. По состоянию пайки (тёмный цвет припоя) видно, что паяли очень давно, наверно, при выпуске на заводе. Это нормально?
Чёрный провод припаян к контакту патрона лампы и замкнут проволокой по резистору на корпус.

Грамматически отредактировано.

Сообщение перенесено из несоответствующей ему по тематике темы про УВЧ 50.

100-летний гваделупянец Синявский, Вы не только неграмотно написали, но ещё и не в том разделе, и не в соответствующей специализированной теме!
Это потому, что Вы не прочитали Правила создания на Форуме тем и размещения в темах сообщений.
1121715.jpg (283.6 Kb) · 6124886.jpg (143.4 Kb)


Сообщение отредактировал Синявский - Воскресенье, 16.Апр.2023, 19:35
 
yblod5Дата: Воскресенье, 16.Апр.2023, 12:42 | Сообщение # 6
У вас сообщений: 788
Сервис-инженер
OFFлайн
Российская Федерация

Владивосток
Цитата Синявский ()
Увидел, что один контакт патрона лампы 13,5 В припаян напрямую к корпусу (земля). Мне это показалось странным, вроде как, замыкание цепи получается.

Про какой контакт вещаете?
Нить накала подогревателя на схеме соединяется с землёй - всё верно.
6449743.png (421.9 Kb)
 
СинявскийДата: Воскресенье, 16.Апр.2023, 15:00 | Сообщение # 7
Стажер
У вас сообщений: 11
электромеханик
OFFлайн
Российская Федерация

гваделупа
Я не про генераторную лампу ГУ-19, а про индикаторную лампочку на 13,5 вольт. На моём фото именно она сфоткана, а не ГУ-19. Про ГУ-19 я ничего не писал.
Вроде всё разжевал, даже фото сделал, где видно, что проволока намотана на резистор и припаяна от патрона к корпусу. Почему так сделано?
Ведь аппарат работал.
Может схема не та?
Может модель УВЧ другая?
У меня аппарат с ручкой компенсатора и на схеме компенсатор, то есть схема к моему аппарату.
.

Сам разобрался. Проволока - это не замыкание на землю, а резистор R3 0,35 ом.
Грамматически отредактировано.

ПОМНИТЕ ! Дико раздражает принципиально унизительный, особенно стоически повторяющийся, характер написания текста сообщений, проявляющийся в нарушениях правил правописания в русском языке в виде орфографических, пунктуационных и смысловых ошибок.

Вам предупреждение о недопустимости безграмотного написания текстов на Форуме и утомительных монологов в темах!


Сообщение отредактировал Синявский - Воскресенье, 16.Апр.2023, 15:24
 
vladiДата: Вторник, 17.Окт.2023, 19:45 | Сообщение # 8
Стажер
У вас сообщений: 47
инженер
OFFлайн
Российская Федерация

Мурманск
Небольшой отчёт о ремонте УВЧ-30 (старый аппарат московского завода "ЭМА" с ручкой "компенсатора", уровни мощности 15 Вт, 30 Вт, лампа ГУ-19-1).
Неисправность: при касании неонкой выходного кабеля, подключенного на стандартную нагрузку (аппликатор вихревых токов ЭВТ-1) свечения неонки нет.
По результатам мероприятий выяснилось:
1. Внешний осмотр ничего не дал, компоненты без видимых повреждений. Винтовые соединения достаточно надёжны;
2. При включении прибора (компенсатор в первом положении) анодное 520 V, сеточное 50 V, накал 13.5 V. При нажатии на кнопку "Контроль напряжения" стрелка располагается в требуемом секторе. Индикаторная лампа светится нормально;
3. При переводе переключателя мощности в положение "15 Вт" стрелка прибора по мере готовности лампы отклоняется примерно до середины шкалы и в момент начала генерации сбрасывается до одной трети шкалы. В этом состоянии на выходе прибора, нагруженном на ЭВТ-1 наблюдаем осциллограмму в виде чистой синусоиды частотой около 40 MHz и амплитудой 30 V;
4. Теперь, если поднести неонку к анодам лампы или катушке анодного контура, неонка светится, а на выходе - по-прежнему нет. Измерил накал и выяснилось, что в момент начала генерации напряжение накала падает с 13.5 V до 8 V. При этом анодное напряжение практически не изменяется. Если включить режим "30 Вт" - накал падает ещё до 7 V;
5. Вывод напрашивается такой: транс не тянет необходимую мощность. Но может быть есть ещё варианты?
Обратил внимание, что относительно сильноточная накальная обмотка имеет контур протекания тока с ДВУМЯ винтовыми соединениями, правда, их визуальное состояние удовлетворительное. Тем не менее, я их раскрутил и почистил - толку ноль.

Может кому приходилось сталкиваться с отказом транса?
Есть ли разумные решения по его ремонту?
Предположил перегрузку транса из-за неисправности лампы. Произвёл замену ламп трижды - поведение прибора ни чуть не изменилось ...
 
  • Страница 1 из 1
  • 1
Поиск:



Статистика Форума
Последние обновления тем: Новые файлы хранилища: Новые участники: Top10 участников:
1. Анализатор поля зрени...[SpirituS (04.Дек.2025)]
2. Программный комплекс ...[mqubali (04.Дек.2025)]
3. Кардиорегистратор «ИК...[albano18 (04.Дек.2025)]
4. Thermo Scientific gem...[viggen (03.Дек.2025)]
5. Центрифуга CM-6M ф.El...[Ningen64 (03.Дек.2025)]
6. Дефибриллятор Defi B ...[san-che30 (02.Дек.2025)]
7. Коллиматор Ralco R 22...[seeker (02.Дек.2025)]
8. КУПЛЮ/ПРИМУ в дар при...[seabee (02.Дек.2025)]
9. Центрифуга MiniSpin P...[AntonioPetty (01.Дек.2025)]
1. VIVIX Setup Operation...[12.Окт.2025]
2. GenwareMP[10.Сен.2025]
3. Настройка реагентов M...[20.Авг.2025]
4. Philips HD3-EXP[13.Авг.2025]
5. Рентгеновское оборудо...[08.Авг.2025]
6. VersaMed iVent201 Сер...[13.Фев.2025]
7. Гелпик КРД Ренекс РЦ ...[09.Фев.2025]
8. Офтальмологическая ус...[31.Окт.2024]
9. Cardinal-Health-VELA-...[03.Окт.2024]
10. Service Manual HAMILT...[02.Окт.2024]
1. Intellect[05.Дек.2025]
2. Romanivanov[05.Дек.2025]
3. igogoigogo[05.Дек.2025]
4. 1rishka[04.Дек.2025]
5. L_V_N[04.Дек.2025]
6. ИвановИИ[04.Дек.2025]
7. Alex_U[04.Дек.2025]
8. Yarikus03[03.Дек.2025]
9. EvaLen[03.Дек.2025]
10. dankurets[03.Дек.2025]
МастерБаку[583]
Yulana34[177]
Serg74[160]
Dimitrius[129]
naves[122]
РОМУЛ[121]
bektyish[121]
madmac[116]
Алекс-200[114]
begun_a[112]