[ Новые сообщения · Участники · Правила форума · Поиск · RSS ]



  • Страница 1 из 1
  • 1
Модератор форума: GeorgySmith, KAMEROved_2  
СМС оповещение. Как реализовать
carstarДата: Понедельник, 11.Апр.2016, 05:19 | Сообщение # 1
Участник
У вас сообщений: 60
инженер-радиотехник
OFFлайн
Российская Федерация

Иркутск
Уважаемые коллеги.
Прошу поделиться реализацией СМС оповещения.
Идея: использовать ГАРДИАН BM8039/BM8039D
Цель: оперативно знать об останове томографа, греокомпрессора, чиллера.
 
KVIДата: Понедельник, 11.Апр.2016, 21:32 | Сообщение # 2
Техник
У вас сообщений: 396
МРТ
OFFлайн
Российская Федерация

Елец
А почему именно Гардиан?
Есть и другие:
http://masterkit.ru/shop/smarthome/1298514
http://microline.ru/product....zations
http://www.navtelecom.ru/oborudo....himosti
http://astra-dozor.ru/
http://www.ksytal.ru/prod.htm

У меня лежит mega-SX Light USB от микролайна (уже не производится) - всё руки не доходят установить.

А в чём проблема установки?
В моей кроме простых сигнальных входов есть возможность подключить 3 температурных датчика (можно контролировать и воду и воздух) и микрофон - послушать работает ли голова.
Также придут смски при пропадании питания. Да вообще всё, что угодно можно реализовать.


-=Vladimir=-

Сообщение отредактировал KVI - Понедельник, 11.Апр.2016, 21:33
 
carstarДата: Вторник, 12.Апр.2016, 04:19 | Сообщение # 3
Участник
У вас сообщений: 60
инженер-радиотехник
OFFлайн
Российская Федерация

Иркутск
У меня Гардиан уже есть.
Вопрос:
Как узнать об останове креокомпрессора и чиллера?
На моих нет выхода сигнала ошибки, пробую через датчик тока по питанию.
 
jinДата: Вторник, 12.Апр.2016, 07:42 | Сообщение # 4
Стажер
У вас сообщений: 34
инженер
OFFлайн
Украина

Киев
я все проще сделал,
от фильтр панели 2 провода , где компрессор падает питание на голову , обычный светодитодный сигнализатор на 220 вольт, и вывел где его видит камера видео наблюдения, а точнее в коридор , и теперь весь персонал видит зеленый индикатор и знает , что если он погаснет надо бить тревогу , ну и я включил дистанционно камеру и вижу.
горит значит и чиллер и компрессор работают. К слову много раз выручала эта система. стоит 3 копейки , делается за 3 минуты.
 
KVIДата: Вторник, 12.Апр.2016, 09:29 | Сообщение # 5
Техник
У вас сообщений: 396
МРТ
OFFлайн
Российская Федерация

Елец
carstar, Ты уж как-нибудь определись в терминах - у тебя то "греокомпрессор", то "креокомпрессор". Вообще-то правильно КРИОКОМПРЕССОР от слова "криогеника". :biggrin:
А по поводу отслеживания его остановки вариантов два:
1. Без подключения к схеме компрессора - на питающий кабель вешается датчик тока и соответственно токовое реле, выход которого цепляется на сигналку.
2. Внутри криокомпрессора есть пускатель - цепляешь к нему дополнительный контакт на замыкание и всё.
Первый вариант - дороже. Второй копейки, но надо лезть внутрь компрессора и выводить провод наружу.
По чиллеру не подскажу - не знаю какой у тебя.
Вообще-то проще контроллировать температуру теплоносителя на выходе (а лучше ещё и на обратке ) чиллера. В конце концов важнее знать температуру, чем стоИт чиллер или работает. Он может работать, но не обеспечивать необходимую температуру.
В моей сигналке есть возможность подключить три температурных датчика. Задаешь рабочий диапазон температур - выход за диапазон - "авария".
Также я бы поставил реле контроля фаз типа РНПП 302 - для контроля пропадания или перекоса фаз сети.


-=Vladimir=-

Сообщение отредактировал KVI - Вторник, 12.Апр.2016, 09:31
 
sledgeДата: Вторник, 12.Апр.2016, 17:46 | Сообщение # 6
Участник
У вас сообщений: 192
инженер
OFFлайн
Российская Федерация

Санкт-Петербург
Раз к этому вопросу есть интерес - как раз занимаемся конструкцией такого контроллера, для отслеживания текущих состояний оборудования и сигнализации. Попытки к этому приспособить готовые устройства - либо просто колхоз, либо очень большие деньги. Можете сюда, если топикстартер не против, или мне в личку писать пожелания - одна голова, как говорится хорошо, а много - лучше, попробуем реализовать.
 
carstarДата: Среда, 13.Апр.2016, 04:09 | Сообщение # 7
Участник
У вас сообщений: 60
инженер-радиотехник
OFFлайн
Российская Федерация

Иркутск
Спасибо KVI - подытожил плюсы и минусы.
Я больше склоняюсь к датчикам тока. К их плюсам и минусам еще можно отнести:
1. Все датчики можно смонтировать в одном силовом щите и подсоединить с контроллером короткими проводами.
2. Можно отследить выход из строя циркуляционных насосов.
3. Простой монтаж, не надо лесть внутрь оборудования - открутил силовой провод, надел кольцо и все.
Минусы
1. Датчики дороги
2. Необходимо подбирать порог срабатывания
 
carstarДата: Среда, 13.Апр.2016, 04:22 | Сообщение # 8
Участник
У вас сообщений: 60
инженер-радиотехник
OFFлайн
Российская Федерация

Иркутск
Уважаемый sledge.
Я думаю многим интересны Ваши наработки, тем более что данная тема очень актуальна для любого инженера.
Прошу для начального обсуждения вынести техническое задание проекта.
В данный момент лично я озадачился разработкой надежного токового датчика, который должен:
1. Иметь возможность работы с любыми с охранными системами
2. Иметь гальваническую развязку
3. Не иметь собственного источника питания
4. Иметь регулировку и индикацию порога срабатывания
У кого есть мысли?
 
KVIДата: Среда, 13.Апр.2016, 08:40 | Сообщение # 9
Техник
У вас сообщений: 396
МРТ
OFFлайн
Российская Федерация

Елец
carstar, Ну тогда тебе вот: http://novatek-electro.com/ru....01.html

Кстати. В качестве датчика наличия поля (квенча) использую герконовый датчик открытия двери.


-=Vladimir=-
 
sledgeДата: Среда, 13.Апр.2016, 14:21 | Сообщение # 10
Участник
У вас сообщений: 192
инженер
OFFлайн
Российская Федерация

Санкт-Петербург
Цитата carstar ()
В данный момент лично я озадачился разработкой надежного токового датчика


Зачем разрабатывать датчик? "Все уже придумано до нас" =)

http://www.seeedstudio.com/depot....47.html

Вот например
 
KAMEROved_2Дата: Четверг, 14.Апр.2016, 10:25 | Сообщение # 11
Старший Помощник KAMEROved
OFFлайн
Российская Федерация

SPb
Цитата carstar ()
Как узнать об останове креокомпрессора и чиллера?

в зависимости от модели криокомпрессора, на лицевой панели есть диагностический разъём для отслеживания его состояний.
на примере F50 или CSW71 - pin 7&13 потеря 24 вольта говорит о отсутствии питания на диодный мост схемы выпрямление (сработала автомат, потеря первой и второй фазы, сгорел предохранитель...)
pin 7&6 - потеря 24 вольта говорит о отсутствии вращении головки (заклинило, не кто тубмлер int/ext на компрессоре нажал... )
pin 1&2 - переход сопротивления с ноль Ом в обрыв говорит о срабатывании одного из трех температурных датчиков. Обычно 110 градусный на выходе газовой трубы из компрессора (остановка чиллера, течь масла...)
и так далее. Также включать можно удаленно гелиевый компрессор. ГАРДИАН успешно это делает при помощи смс.

На F70 (пины могут меняться от положения переключателя работы на лицевой панели):
pin 13&16 - появления 24 вольта говорит о остановке гелиевого компрессора по причине утечки газа.
pin 13&17 - появления 24 вольта говорит то же что и в первом случае.
и так далее на каждый гелиевый компрессор плюс несколько темп датчиков на ответственные точки. Цена вопроса около 13к руб и практически нулевое вмешательство в компрессор.
 
KAMEROved_2Дата: Четверг, 14.Апр.2016, 10:42 | Сообщение # 12
Старший Помощник KAMEROved
OFFлайн
Российская Федерация

SPb
sledge, добрый день,
как вы думаете, приписка в конце каждого поста:
Цитата sledge ()
http://www.instrumentarium.ru Сервис, ремонт, продажа КТ и МРТ

какому пункту правил форума противоречит?
 
KVIДата: Четверг, 14.Апр.2016, 12:25 | Сообщение # 13
Техник
У вас сообщений: 396
МРТ
OFFлайн
Российская Федерация

Елец
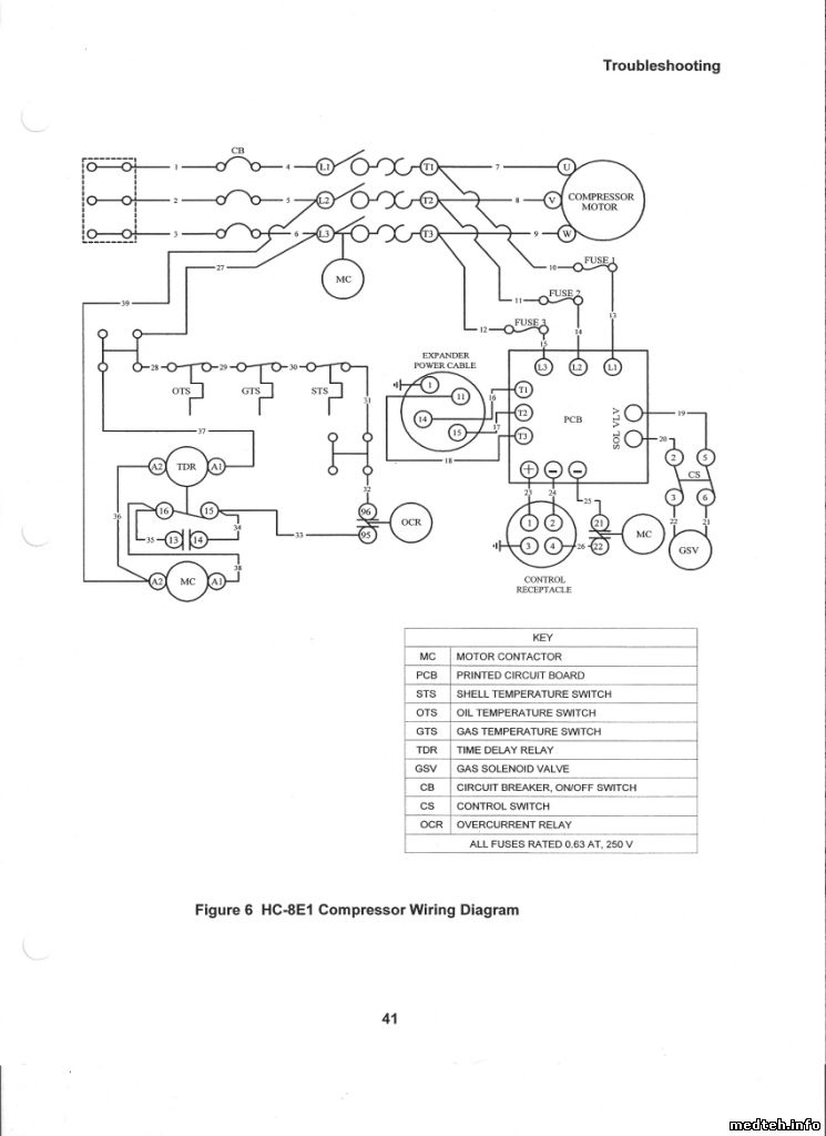
KAMEROved_2, У топикстартера Филипс Ачива 1.5Т, а это крио-компрессор НС-8С - у него нет диагностического разъёма как у НС-10 или CSW-71,F50,F70.
Поэтому приходится мудрить :)


-=Vladimir=-
 
KAMEROved_2Дата: Четверг, 14.Апр.2016, 12:44 | Сообщение # 14
Старший Помощник KAMEROved
OFFлайн
Российская Федерация

SPb
Цитата KVI ()
НС-8С - у него нет диагностического разъёма

а разъём accessory, круглый, 5 пинов. Пин 7 земля, 1&2 к схеме подключены. 3,5,6 вроде пустые. Разве не предусмотрено на НС-8С диагностических выходов? Может кто уточнит?
 
KVIДата: Четверг, 14.Апр.2016, 14:11 | Сообщение # 15
Техник
У вас сообщений: 396
МРТ
OFFлайн
Российская Федерация

Елец
KAMEROved_2, Сам видишь как басню упростили:

P.S. Хотя на разъёме Control Receptacle надо посмотреть контакт 4.
Вообще-то этот разъём используется для временного останова холодной головы при некоторых программах (блок BDAS (CDAS) подает на него сигнал управления). Но глянуть стОит что на нем происходит. Займусь на досуге.
8068626.jpg (145.5 Kb)


-=Vladimir=-

Сообщение отредактировал KVI - Четверг, 14.Апр.2016, 14:18
 
sledgeДата: Четверг, 14.Апр.2016, 18:28 | Сообщение # 16
Участник
У вас сообщений: 192
инженер
OFFлайн
Российская Федерация

Санкт-Петербург
Цитата KAMEROved_2 ()
практически нулевое вмешательство в компрессор


В компрессор - да, вмешательства нет. А вот в систему - есть, потому как, к примеру, в Toshiba Excelart и Vantage туда подключен кабель, в результате которого система получает информацию не отключился ли компрессор.
 
sledgeДата: Четверг, 14.Апр.2016, 18:31 | Сообщение # 17
Участник
У вас сообщений: 192
инженер
OFFлайн
Российская Федерация

Санкт-Петербург
Цитата KAMEROved_2 ()
как вы думаете, приписка в конце каждого поста:
Цитата sledge ()
http://www.instrumentarium.ru Сервис, ремонт, продажа КТ и МРТ

какому пункту правил форума противоречит?


Честно - не знаю.

Просто я честно заявляю о том, что выступаю тут (на форуме) немного не в том амплуа, в котором остальные - собственно КТ и МРТ это наша (и нашей компании и меня в том числе) основная работа. Просто для того, чтобы не было недопонимания изначально.

Да собственно многих здесь присутствующих знаю лично, некоторых заочно =)

А что?
 
RxTxДата: Пятница, 15.Апр.2016, 00:20 | Сообщение # 18
Стажер
У вас сообщений: 10
Инженер
OFFлайн
Российская Федерация

Ставрополь
Несколько для иных целей (мониторинг температуры и дист. вкл/выкл) использовал Страж SMS 4х4. У него 4 входа и 4 выхода.
 
KAMEROved_2Дата: Пятница, 15.Апр.2016, 12:59 | Сообщение # 19
Старший Помощник KAMEROved
OFFлайн
Российская Федерация

SPb
Цитата sledge ()
В компрессор - да, вмешательства нет. А вот в систему - есть, потому как, к примеру, в Toshiba Excelart и Vantage туда подключен кабель, в результате которого система получает информацию не отключился ли компрессор.

Сравнивая с другими производителями, думаю речь идёт о каком либо светодиоде об отключении компрессора или окошко с сообщением на консоли оператора максимум. Вряд ли система заблокирует сканирование и внесёт изменения в работу рефрижераторной системы в целом(Есть реализация вкл/выкл гелиевого компрессора от изменения атмосферного давления?).
На аппаратах Toshiba Excelart и Vantage используется F70, да?
Система должна получать информацию не отключился ли компрессор с 14 пина с всего DB25 разъёма, такой сигнал продублировать не должно составить больших сложностей.

Для тех производителей томографов, где критично скидывание/дублирование диагностического разъёма, реализация точно будет трудоёмка и похоже на
Цитата sledge ()
- либо просто колхоз, либо очень большие деньги


По второму вопросу надо дифференцировать частоту сочетания подписи фирмы и направлением в личку. Те форумчане, кто тоже представляют фирму, подписи не имеют. У вас неоспоримое преимущество перед другими пользователями biggrin
 
GeorgySmithДата: Пятница, 15.Апр.2016, 13:19 | Сообщение # 20
US,CT,MRI,angio systems
OFFлайн
Российская Федерация

Middle Volga
Цитата KAMEROved_2 ()
sledge, добрый день,
как вы думаете, приписка в конце каждого поста:
Цитата sledge ()
http://www.instrumentarium.ru Сервис, ремонт, продажа КТ и МРТ

какому пункту правил форума противоречит?


Конкретно продажи чего либо нет у sledge,

Но лучше вынести эту информацию в профиль пользователя.
Цитата sledge ()
Просто я честно заявляю о том, что выступаю тут (на форуме) немного не в том амплуа, в котором остальные


Все тут так или иначе предлагают свои услуги в ремонте/установке/продаже...Хоть я Вас и знаю лично, но преимущество одному человеку/фирме по сравнению с другими не допустимо у нас на форуме. Исправьтесь пожалуйста исполнительный директор...

PS: Моя компания, кстати, оплачивает свои рекламные баннеры на данном сайте. Нужно уметь дифференцировать работу и хобби
 
sledgeДата: Пятница, 15.Апр.2016, 13:24 | Сообщение # 21
Участник
У вас сообщений: 192
инженер
OFFлайн
Российская Федерация

Санкт-Петербург
Цитата KAMEROved_2 ()
Вряд ли система заблокирует сканирование и внесёт изменения в работу рефрижераторной системы в целом(Есть реализация вкл/выкл гелиевого компрессора от изменения атмосферного давления?).
На аппаратах Toshiba Excelart и Vantage используется F70, да?


Именно так - система заблокирует возможность сканирования при отключившемся компрессоре.
В Vantage и моложе - F70, в предидущих аппаратах разные бывали. Мне приехала система из штатов с компрессором от Филипса, к примеру - HC8C.

Вообще - действительно, думаю проще сделать "проходной" переходник, в котором нужный сигнал будет просто ответвляться наружу.

По поводу подписи - честно говоря, за всю историю моего здесь общения не было ни одного коммерческого продолжения, начавшегося здесь. Поэтому расценивать ее рекламой не совсем верно. Просто информация.
 
sledgeДата: Пятница, 15.Апр.2016, 13:27 | Сообщение # 22
Участник
У вас сообщений: 192
инженер
OFFлайн
Российская Федерация

Санкт-Петербург
Цитата GeorgySmith ()
но преимущество одному человеку/фирме по сравнению с другими не допустимо у нас на форуме. Исправьтесь пожалуйста исполнительный директор...


Я давно уже не исполнительный...
ОК, исправлю

Кстати, не вижу куда можно было бы вставить эту информацию в профиле


Сообщение отредактировал sledge - Пятница, 15.Апр.2016, 13:29
 
carstarДата: Четверг, 21.Апр.2016, 05:15 | Сообщение # 23
Участник
У вас сообщений: 60
инженер-радиотехник
OFFлайн
Российская Федерация

Иркутск
Здравствуйте коллеги.
Цель данной темы - поиск оптимального решения проблемы СМС оповещения,
по возможности, без привязки к конкретным аппаратам.
Все таки есть вопрос что нужно контролировать и как?

Кому интересно:
1. Пока идут датчики с Китая, сделал собственный. На стальную гайку намотал 40 витков провода, прицепил шунтирующий резистор.
2. Занимаюсь компаратором. За основу взята вот эта схемка
0799286.jpg (60.9 Kb)
 
carstarДата: Четверг, 21.Апр.2016, 05:18 | Сообщение # 24
Участник
У вас сообщений: 60
инженер-радиотехник
OFFлайн
Российская Федерация

Иркутск
У многих стоят стабилизаторы\бесперебойники. В моей системе они слабое звено...
 
carstarДата: Четверг, 21.Апр.2016, 05:23 | Сообщение # 25
Участник
У вас сообщений: 60
инженер-радиотехник
OFFлайн
Российская Федерация

Иркутск
Есть еще кондиционер в "техничке". Она у меня маленькая, в цоколе. Оборудование нагревает ее довольно быстро...
 
KAMEROved_2Дата: Пятница, 22.Апр.2016, 23:44 | Сообщение # 26
Старший Помощник KAMEROved
OFFлайн
Российская Федерация

SPb
Цитата carstar ()
2. Занимаюсь компаратором. За основу взята вот эта схемка

это лишнее...
Цитата sledge ()
"Все уже придумано до нас" =)
 
carstarДата: Пятница, 13.Май.2016, 05:34 | Сообщение # 27
Участник
У вас сообщений: 60
инженер-радиотехник
OFFлайн
Российская Федерация

Иркутск
Здравствуйте коллеги.
Прошу прощения за длительное молчание - время было потрачено на разработку и испытание датчика.
Я постарался сделать датчик максимально дешевым, просто реализуемым и надежным.
Трансформатор и реле можно купить в магазинах электротоваров, остальные детали выковырять из блока питания компьютеров.
Все заявленные ранее требования учтены.
Итог:
1. В качестве датчика тока использован обычный трансформатор тока для электросчетчиков.
2. Датчик питается от трансформатора тока
3. Выход релейный (на замыкание или размыкание - на выбор).
4. Индикация и регулировка порога срабатывания компаратора реализована непосредственно в датчике.
5. Простое подключение непосредственно в силовом щите:
на провод питания контролируемого устройства одевается датчик, включается устройство, выставляется порог срабатывания на номинальном токе потребления, при останове - ток потребления падает, реле срабатывает и отправляется СМС.
Все просто...


Сообщение отредактировал carstar - Пятница, 13.Май.2016, 05:51
 
carstarДата: Среда, 25.Май.2016, 05:00 | Сообщение # 28
Участник
У вас сообщений: 60
инженер-радиотехник
OFFлайн
Российская Федерация

Иркутск
Готовый датчик
8534626.jpg (131.3 Kb) · 8338936.jpg (102.4 Kb) · 2324761.jpg (108.0 Kb)
 
  • Страница 1 из 1
  • 1
Поиск:



Статистика Форума
Последние обновления тем: Новые файлы хранилища: Новые участники: Top10 участников:
1. ЭКГ СARDIOVIT AT-2 ф....[AlexanderRu (15.Апр.2026)]
2. Маммограф Giotto Imag...[lavista (14.Апр.2026)]
3. GE Revolution EVO[Jugene (13.Апр.2026)]
4. УВЧ-80 НОВОАН - ЭМА[Parkincjn (11.Апр.2026)]
5. УЗИ MyLab 25 ф.Esaote...[sun_man (11.Апр.2026)]
6. ТУРБИННЫЕ НАКОНЕЧНИКИ[georgiykaz (09.Апр.2026)]
7. Эмблема (логотип) мед...[medteh (08.Апр.2026)]
8. УЗИ Logiq E ф.GE[tomios (08.Апр.2026)]
9. Стоматустановка Azimu...[Yulana34 (08.Апр.2026)]
1. Apollo EZ service man...[25.Дек.2025]
2. VIVIX Setup Operation...[12.Окт.2025]
3. GenwareMP[10.Сен.2025]
4. Настройка реагентов M...[20.Авг.2025]
5. Philips HD3-EXP[13.Авг.2025]
6. Рентгеновское оборудо...[08.Авг.2025]
7. VersaMed iVent201 Сер...[13.Фев.2025]
8. Гелпик КРД Ренекс РЦ ...[09.Фев.2025]
9. Офтальмологическая ус...[31.Окт.2024]
10. Cardinal-Health-VELA-...[03.Окт.2024]
1. IapisDolis[17.Апр.2026]
2. dmitriy89[17.Апр.2026]
3. Феликсыч[17.Апр.2026]
4. AShkunov[17.Апр.2026]
5. evin201[16.Апр.2026]
6. Kostyan_ch[16.Апр.2026]
7. kmatus[16.Апр.2026]
8. esin1988[16.Апр.2026]
9. Aluria[15.Апр.2026]
10. Timurnurgaleev[15.Апр.2026]
МастерБаку[583]
Yulana34[177]
Serg74[160]
Dimitrius[129]
naves[122]
РОМУЛ[121]
bektyish[121]
madmac[116]
Алекс-200[114]
генаf[112]