[ Новые сообщения · Участники · Правила форума · Поиск · RSS ]



  • Страница 3 из 3
  • «
  • 1
  • 2
  • 3
Модератор форума: GeorgySmith, KAMEROved_2  
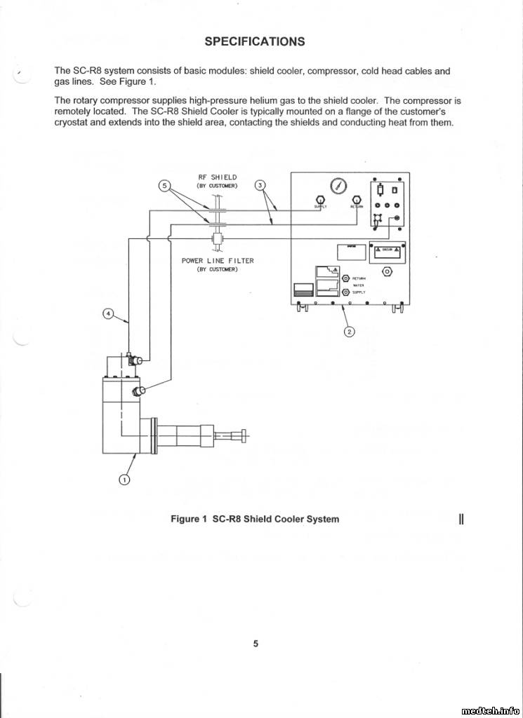
Мобильный МРТ Gyroscan T5-NT (Intera) ф.Philips
KVIДата: Вторник, 21.Янв.2014, 19:51 | Сообщение # 81
Техник
У вас сообщений: 396
МРТ
OFFлайн
Российская Федерация

Елец
Aliec, вот сканы доки, что шла с системой.
Мы обычно ориентируемся на 2-а года. А дисплейсер по необходимости. Контролируя расход гелия. Как правило, дисплейсер выхаживает 2-3 качественных адсорбера.
0353573.jpg (199.4 Kb) · 9284744.jpg (118.3 Kb) · 4650687.jpg (88.5 Kb)


Сообщение отредактировал KVI - Вторник, 21.Янв.2014, 19:55
 
Dmitriy86Дата: Среда, 22.Янв.2014, 15:18 | Сообщение # 82
Стажер
У вас сообщений: 38
инженер
OFFлайн
Российская Федерация

Москва
По поводу "Intera 1,5T бывают разные - огласите состав по блокам (DAS,Gradients...) Тогда будет понятно, что за "вторичный контур" вы имели ввиду.- привожу фото стоек, слево направо соответственно- DACC, Gradients (781), LCC, просто я предполагаю что охлаждение вторичного контура производит криокомпрессор, никакого бака нет с дистиллированной водой, но все же (поправьте если не так).

30т/часов это примерно 3,5 года, чет долго? В 18 месяцев ближе к истине, но вопрос тогда следующий, как проверить что его (адсорбер)
пора менять? Я так понимаю по давлению на датчике, 310-320 mBar и при выключенном где то 285, так в документации, и на практике у меня так и есть.

Еще вопрос касаемо газ гелия в криостате (F2000) - манометр там сверху на заправочной башне. Знаю норм. давление от 30 до 100 mBar, но вопрос в следующем, чем выше давление тем более интенсивно испаряется гелий, так я понимаю? Соответственно расход увеличится? У меня расход 2% в месяц, знаю это нормально, но опять же, что написано про нароботку в часах дисплейсера? И показания манометра на бочке если будут выходить за рамки 30-100 mBar, это можно принять как за показатель к замене дисплейсера? (50 mBar на данный момент)
С уважением Дмитрий
0749588.jpg (183.4 Kb)
 
KVIДата: Среда, 22.Янв.2014, 18:32 | Сообщение # 83
Техник
У вас сообщений: 396
МРТ
OFFлайн
Российская Федерация

Елец
Dmitriy86, прежде всего отделим мух от котлет. Криосистема - это одно, а охлаждение градиентов и градиентной катушки это другое. Несмотря на то, что криокомпрессор расположен в той же стойке LCC. Криокомпрессор - устройство, снабжающее холодную голову газообразным гелием под высоким давлением. Для охлаждения крикомпрессора используется холодная жидкость производимая чиллером. Градиентные усилители и градиентная катушка охлаждаются с помощью стойки LCC, которая по своей сути является теплообменником между градиентами и чиллером. LCC имеет два вторичных контура, снабженных кажды своей циркуляционной помпой. Один контур на градиентную катушку заполнен деионизированной водой с добавкой биоцида и ингибитора коррозии. Другой же - для градиентных усилителей и заполнен этиленгликолем (почему такая разница - вопросы к Филипсу). Также в блоке присутствует блок контроля температуры, который и управляет протоком жидкости от чиллера через теплообменники каждого контура. Чем и достигается регулировка температуры. Судя по фото имеется модификация LCC2 - с такой стойкой мне не приходилось иметь дело. В LCC1 же на расширительных бачках имелись прозрачные трубки через которые можно визуально определить уровень жидкости.Наверняка имеются датчики уровня.
По остальным вопросам позже - и так много букф написал ))
 
vincent199Дата: Воскресенье, 23.Фев.2014, 01:19 | Сообщение # 84
Стажер
У вас сообщений: 4
инженер
OFFлайн
Российская Федерация

москва
Уважаемые товарищи!
Прошу помочь советом/мыслью. Устанавливается 1,5T аппарат (на днях должна продолжится окончательная установка). Компрессор качает, бочка заправлена месяц назад до 100% (mitsubishi). След.этап - поднятие поля. Но есть проблема. Стабилизатор, когда стоит под полной нагрузке, может отключаться (вероятно, перекос фаз, с одного трансформатора идёт, но разными линиями, ИБП - нет). Производитель отмораживается, мол, нельзя поднимать поле. Что со стабилизатором, похоже, сам не знает. Говорит, во время транспортировки, вероятно, повреждён, не наши, мол, проблемы. Стаб. забавный: с него идёт 380 и 220 В (хотя может это и нормально). Покупайте, говорит, новый, а с этим, никак. Что делать, ума не приложу. ИБП на все оборудование нет (понимаю, что это не есть гуд, но других вариантов пока нет).
Симптомы: Если выключается стаб., отключаются только расходометр HE, остальное оборудование (RF-усил, град. усил.) пока не подключены. Компрессор подключен по другой линии, но через AVR (при выкл. AVR, он работает вместе с чиллером и кондеем).
Фото всего этого "чудо-добра" есть.
Компрессор F-50.
Заранее прошу прощения, если не в тему написал.
Заранее спасибо!
 
refrenДата: Воскресенье, 23.Фев.2014, 13:29 | Сообщение # 85
Техник
У вас сообщений: 317
Инженер
OFFлайн
Российская Федерация

Москва
Марка стабилизатора и его мощность?
Стабилизатор как то сигнализирует об ошибке (перекос фаз, либо высокое/низкое напряжение, может перегрев)?
Напряжение промеряли до него и после в разных режимах работы?
Какие токи через него проходят?

Цитата vincent199 ()
Стабилизатор, когда стоит под полной нагрузке, может отключаться

А какие у вас полные нагрузки, а какие холостые?
 
vincent199Дата: Воскресенье, 23.Фев.2014, 14:31 | Сообщение # 86
Стажер
У вас сообщений: 4
инженер
OFFлайн
Российская Федерация

москва
refren, стаб очень забавный, чудо корейского приборостроения.
Доков никаких.
Компрессор тоже на фото.
Беспокоят показания Return Pressure (кто-то говорил что маловато).
http://photoshare.ru/office/album.php?id=392112
3604010.jpg (184.7 Kb)
 
TSETS7Дата: Четверг, 21.Дек.2023, 22:00 | Сообщение # 87
Заглянувший
У вас сообщений: 3
инженер мрт
OFFлайн
Армения

Ереван
Доброго времени суток!
Ребята, прошу совета и помощи, кто сталкивался - LCC yна эл.блоке выдаёт ошибку "23" - в чём может быть причина?
(при нормально работе высвечивалось "22")
 
  • Страница 3 из 3
  • «
  • 1
  • 2
  • 3
Поиск:



Статистика Форума
Последние обновления тем: Новые файлы хранилища: Новые участники: Top10 участников:
1. Анализатор поля зрени...[SpirituS (04.Дек.2025)]
2. Программный комплекс ...[mqubali (04.Дек.2025)]
3. Кардиорегистратор «ИК...[albano18 (04.Дек.2025)]
4. Thermo Scientific gem...[viggen (03.Дек.2025)]
5. Центрифуга CM-6M ф.El...[Ningen64 (03.Дек.2025)]
6. Дефибриллятор Defi B ...[san-che30 (02.Дек.2025)]
7. Коллиматор Ralco R 22...[seeker (02.Дек.2025)]
8. КУПЛЮ/ПРИМУ в дар при...[seabee (02.Дек.2025)]
9. Центрифуга MiniSpin P...[AntonioPetty (01.Дек.2025)]
1. VIVIX Setup Operation...[12.Окт.2025]
2. GenwareMP[10.Сен.2025]
3. Настройка реагентов M...[20.Авг.2025]
4. Philips HD3-EXP[13.Авг.2025]
5. Рентгеновское оборудо...[08.Авг.2025]
6. VersaMed iVent201 Сер...[13.Фев.2025]
7. Гелпик КРД Ренекс РЦ ...[09.Фев.2025]
8. Офтальмологическая ус...[31.Окт.2024]
9. Cardinal-Health-VELA-...[03.Окт.2024]
10. Service Manual HAMILT...[02.Окт.2024]
1. igogoigogo[05.Дек.2025]
2. 1rishka[04.Дек.2025]
3. L_V_N[04.Дек.2025]
4. ИвановИИ[04.Дек.2025]
5. Alex_U[04.Дек.2025]
6. Yarikus03[03.Дек.2025]
7. EvaLen[03.Дек.2025]
8. dankurets[03.Дек.2025]
9. Velis1566[03.Дек.2025]
10. xloaders[03.Дек.2025]
МастерБаку[583]
Yulana34[177]
Serg74[160]
Dimitrius[129]
naves[122]
РОМУЛ[121]
bektyish[121]
madmac[116]
Алекс-200[114]
begun_a[112]