[ Новые сообщения · Участники · Правила форума · Поиск · RSS ]



  • Страница 1 из 1
  • 1
Аппараты радиотермометрии
BeshgДата: Пятница, 20.Мар.2015, 18:13 | Сообщение # 1
Стажер
У вас сообщений: 4
студент, электронные приборы и устр
OFFлайн
Украина

Мариуполь
Здраствуйте, уважаемые медтехники. Я студент, требуется помощь в написании дипломного проекта. Тема звучит: ТВ-тракт медицинского радиотермографа. Посоветуйте где поискать информацию в этой области. В гугле информации много по запросу РТМ радиотермометрия, но конкретики по аппаратам нет. Может посоветуете литературу и источники по этой теме.
 
BeshgДата: Пятница, 22.Май.2015, 23:08 | Сообщение # 2
Стажер
У вас сообщений: 4
студент, электронные приборы и устр
OFFлайн
Украина

Мариуполь
Цитата Beshg ()
Здраствуйте, уважаемые медтехники. Я студент, требуется помощь в написании дипломного проекта. Тема звучит: ТВ-тракт медицинского радиотермографа. Посоветуйте где поискать информацию в этой области. В гугле информации много по запросу РТМ радиотермометрия, но конкретики по аппаратам нет. Может посоветуете литературу и источники по этой теме.

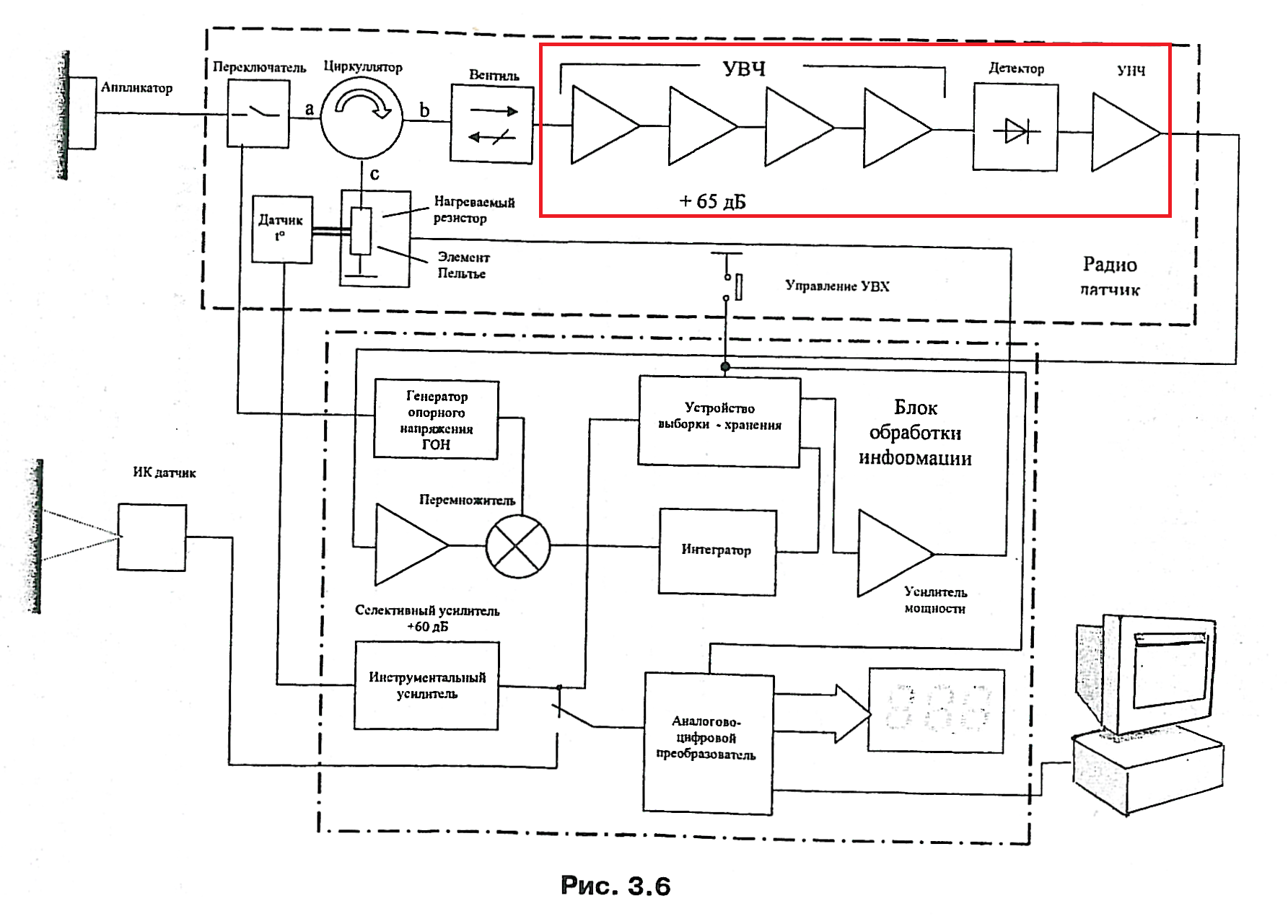
Здраствуйте. С литературой и структурной схемой разобрался. Есть структурная схема радиотермографа РТМ-01-РЭС.

Принципиальной нет. Нужно на дипломный проект разработать схему которая в красном прямоугольнике. +65дб получается соединением 3х усилителей по 20дб + один на 5дб. Потом детектор и УНЧ. Суть вопроса: посоветуйте принципиальную схему с элементной базой или литературу по этой теме.
2853125.png (423.8 Kb)


Сообщение отредактировал Beshg - Пятница, 22.Май.2015, 23:10
 
navesДата: Суббота, 23.Май.2015, 10:43 | Сообщение # 3
У вас сообщений: 1070
программист
OFFлайн
Российская Федерация

Москва
Полоса частот какая на входе и выходе?
Судя по схеме это обычный радиоприемник, который китайцы делают на одной микросхеме
Если решать дословно как по схеме, ставьте четыре ВЧ операционный усилителя, диод, и один НЧ операционник
Литература? Глава про Операционный усилители у Хоровиц Хилл
 
BeshgДата: Воскресенье, 24.Май.2015, 18:46 | Сообщение # 4
Стажер
У вас сообщений: 4
студент, электронные приборы и устр
OFFлайн
Украина

Мариуполь
Цитата naves ()
Полоса частот какая на входе и выходе?
Судя по схеме это обычный радиоприемник, который китайцы делают на одной микросхеме
Если решать дословно как по схеме, ставьте четыре ВЧ операционный усилителя, диод, и один НЧ операционник
Литература? Глава про Операционный усилители у Хоровиц Хилл

Спасибо, приму во внимание. Полосу частот не знаю, в литературе которую я нашел значилось 3,8ГГц, в другой 4ГГц. Технические данные не значились, только блок-схема в патенте. Малошумящие усилители высокой частоты серии MAX подойдут, например MAX2648 для ВЧ ?
 
navesДата: Воскресенье, 24.Май.2015, 20:13 | Сообщение # 5
У вас сообщений: 1070
программист
OFFлайн
Российская Федерация

Москва
с одной стороны без знания требований по параметрам сигналов, что-либо проектировать странно.
с другой стороны, это диплом, и ТЗ обычно пишется самому себе biggrin
Проверьте еще уровни напряжений сигналов на входе и выходе.

Там вообще какой сигнал, модуляция? тип сигнала, может там вообще видео?
 
BeshgДата: Понедельник, 25.Май.2015, 08:21 | Сообщение # 6
Стажер
У вас сообщений: 4
студент, электронные приборы и устр
OFFлайн
Украина

Мариуполь
Цитата naves ()
Там вообще какой сигнал, модуляция? тип сигнала, может там вообще видео?

Сигнал там точно НЕ видео. От исходной темы пришлось отойти.
Цитата naves ()
Проверьте еще уровни напряжений сигналов на входе и выходе.

Такой информации у меня нет, надо самому придумать.
Вот что я нашел про модуляцию:
Приемные устройства обеспечивают усиление принимаемого с поверхности тела человека высокочастотного шумового сигнала и последующее выделение из этого сигнала низкочастотной модулирующей составляющей.
 
navesДата: Понедельник, 25.Май.2015, 09:49 | Сообщение # 7
У вас сообщений: 1070
программист
OFFлайн
Российская Федерация

Москва
есть современная тенденция переводить обработку сигнала на софт.
те усиливается железом ВЧ сигнал, а потом сразу передается на АЦП, и в процессор, который уже по нужному алгоритму получает требуемый НЧ-сигнал.
если у вас есть время и желание, можете помоделировать в https://ru.wikipedia.org/wiki/GNU_Radio
http://gnuradio.ru/2014....ion-grc
http://www.russianelectronics.ru/leader-r/review/2187/doc/59223/

ну и если в дипломе кроме рассчета будет еще и моделирование с красивыми графиками, то это всегда плюс, и не надо думать, что же еще ненужного нарисовать на плакатах

в matlab simulink тоже есть всякие удобные приборчики


Сообщение отредактировал naves - Понедельник, 25.Май.2015, 09:57
 
  • Страница 1 из 1
  • 1
Поиск:



Статистика Форума
Последние обновления тем: Новые файлы хранилища: Новые участники: Top10 участников:
1. ЭКГ СARDIOVIT AT-2 ф....[AlexanderRu (15.Апр.2026)]
2. Маммограф Giotto Imag...[lavista (14.Апр.2026)]
3. GE Revolution EVO[Jugene (13.Апр.2026)]
4. УВЧ-80 НОВОАН - ЭМА[Parkincjn (11.Апр.2026)]
5. УЗИ MyLab 25 ф.Esaote...[sun_man (11.Апр.2026)]
6. ТУРБИННЫЕ НАКОНЕЧНИКИ[georgiykaz (09.Апр.2026)]
7. Эмблема (логотип) мед...[medteh (08.Апр.2026)]
8. УЗИ Logiq E ф.GE[tomios (08.Апр.2026)]
9. Стоматустановка Azimu...[Yulana34 (08.Апр.2026)]
1. Apollo EZ service man...[25.Дек.2025]
2. VIVIX Setup Operation...[12.Окт.2025]
3. GenwareMP[10.Сен.2025]
4. Настройка реагентов M...[20.Авг.2025]
5. Philips HD3-EXP[13.Авг.2025]
6. Рентгеновское оборудо...[08.Авг.2025]
7. VersaMed iVent201 Сер...[13.Фев.2025]
8. Гелпик КРД Ренекс РЦ ...[09.Фев.2025]
9. Офтальмологическая ус...[31.Окт.2024]
10. Cardinal-Health-VELA-...[03.Окт.2024]
1. evin201[16.Апр.2026]
2. Kostyan_ch[16.Апр.2026]
3. kmatus[16.Апр.2026]
4. esin1988[16.Апр.2026]
5. Aluria[15.Апр.2026]
6. Timurnurgaleev[15.Апр.2026]
7. fox-nsk[14.Апр.2026]
8. bombaster[14.Апр.2026]
9. maxvic[14.Апр.2026]
10. Natarhiv[14.Апр.2026]
МастерБаку[583]
Yulana34[177]
Serg74[160]
Dimitrius[129]
naves[122]
РОМУЛ[121]
bektyish[121]
madmac[116]
Алекс-200[114]
генаf[112]