[ Новые сообщения · Участники · Правила форума · Поиск · RSS ]



Модератор форума: zx19  
Помощь в техобслуживании и ремонте RT-7600 и RT-7600S
МВРДата: Четверг, 17.Окт.2013, 14:51 | Сообщение # 1
Медтехник
OFFлайн
Российская Федерация

.
Регистрационное удостоверение ФСЗ 2010/08202 от 01.11.2010 года на Автоматический гематологический анализатор моделей RT-7600, RT-7600S, производства китайской компании Rayto Life And Analytical Sciences Co. Ltd.

. В этой теме собрана вся информация в виде вопросов и ответов на них официального представителя и участников о гематологических анализаторах RT-7600 и RT-7600S (MicrosCC Meridith Rohen).

. Есть тема о методах достижения достоверности практических лабораторных исследований: "О контрольной крови и калибраторе (Практика исследований и обеспечение их достоверности).

. Есть тема: " Анализатор гематологический MicroCC-20 Plus ф.HTI (США) (Неполадки/проблемы, опыт и советы по их устранению)".
5319522.gif (17.7 Kb)
 
MursalДата: Среда, 20.Апр.2016, 11:42 | Сообщение # 161
Стажер
У вас сообщений: 14
инженер
OFFлайн
Азербайджан

Baku
:( da ne sdelal , cto sovetuete

M.M
 
MursalДата: Среда, 20.Апр.2016, 12:43 | Сообщение # 162
Стажер
У вас сообщений: 14
инженер
OFFлайн
Азербайджан

Baku
sdelal otkrilsa no seycas problema druqaya Oshibka opticeskoqo soedinitelya jidkostnoqo sprica , posle obslujivaniya najmite Ok, najmite otmena dla otklucenie , pomoqite v cem problema

M.M
 
AlexiumДата: Среда, 20.Апр.2016, 13:05 | Сообщение # 163
Инженер медтехник
OFFлайн
Российская Федерация

Саратов
Думаю что проблема в оптопаре начального положения шприцов или неисправен один из клапанов.
 
MursalДата: Среда, 20.Апр.2016, 16:43 | Сообщение # 164
Стажер
У вас сообщений: 14
инженер
OFFлайн
Азербайджан

Baku
spasibo , elsi u koqo to takaya problema pomaqite :) spasibo

M.M
 
pavtriodДата: Понедельник, 16.Май.2016, 10:37 | Сообщение # 165
Стажер
У вас сообщений: 26
инженер-метролог
OFFлайн
Российская Федерация

Кемеровская губерния
biotech,
доброго.
перечитал инструкцию к 7600 есть там периодичность ТО и т д (типа что в нём делать), а вот каталожных № з/ч нет....
там же должны по идее с какой то периодичностью меняться трубки, резинки промывочной камеры? сейчас составляем заявки, и не можем ничего придумать.... с 7600.
 
optimizerДата: Понедельник, 16.Май.2016, 10:51 | Сообщение # 166
Завсегдатай
У вас сообщений: 273
инженер
OFFлайн
Российская Федерация

ЦФО
Добрый день, касательно расходников, встретил их ID только на сайте http://medical-certification.ru/27487-a....h.html. Собственно это приложение РУ ФСЗ 2010/08202 к аппарату, копию которой можно посмотреть на сайте http://www.roszdravnadzor.ru/services/misearch
1416007.jpg (192.9 Kb)


Сообщение отредактировал optimizer - Понедельник, 16.Май.2016, 15:37
 
IntermedicaДата: Понедельник, 16.Май.2016, 15:15 | Сообщение # 167
Стажер
У вас сообщений: 17
Менеджер
OFFлайн
Российская Федерация

Москва
Комплект для ТО:
O-Ring, Lyse piston (red). Уплотнительное кольцо шприца литика
O-Ring, Diluent piston Уплотнительное кольцо шприца дилюента
O-Ring,Sample piston(Piston 3) . Кольцо для шприца пробы.
O-Ring,Sampling Needle. Кольцо для пробозаборника
O-Ring.Negative Pressure Injector . Кольцо для сливной помпы
O-Ring Kit, Aperture 2/pk. Уплотнительные кольца апертуры, (2шт/уп)
Grease for Lubrication Смазка
 
biotechДата: Понедельник, 16.Май.2016, 17:56 | Сообщение # 168
Участник
У вас сообщений: 64
инженер
OFFлайн
Российская Федерация

Москва
Цитата optimizer ()
Добрый день, касательно расходников, встретил их ID только на сайте http://medical-certification.ru/27487-a....h.html. Собственно это приложение РУ ФСЗ 2010/08202 к аппарату, копию которой можно посмотреть на сайте http://www.roszdravnadzor.ru/services/misearch
1416007.jpg(193Kb)

Запчасти здесь по ссылке: Биотехимпэкс
Rayto периодически меняет каталожные номера,поэтому при заказе могут быть выписаны новые каталожные номера отличные от тех, что на сайте.
Из того, что обычно требуется по обслуживанию:
5-035-011-00 Набор запасных частей с прокладками и трубками (Spare parts package(include O ring and tube))
5-035-007-00 Устройство промывки иглы отбора пробы в сборе (Sampling needle rinsing set assembly (include O rin)
1-8-035-050-10 Уплотнительная прокладка измерительной апертуры (Washer of aperture)
1-2-035-024-10 Поршень шприца дилюэнта Diluent piston
1-2-035-025-10 Поршень шприца лизирующего раствора LYSE Piston
1-2-035-026-11 Поршень шприца отбора пробы Sample Piston
1-2-035-007-10 Поршень вакуумного шприца Negative pressure injector piston
5-035-005-00 Гильза буфера камеры RBC (с фильтром) RBC buffer cell assembly (include buffer filter)
5-035-006-00 Гильза буфера камеры WBC (с фильтром) WBC buffer cell assembly (include buffer filter)
1-2-035-035-10 Игла отбора пробы Sampling Needle
1-8-035-024-00 Трубка силиконовая диаметр 2,06 мм длина 38 см (2.06mm tube(L=38cm))
1-8-035-024-00 Трубка силиконовая диаметр 2,29 мм длина 38 см (2.29mm tube(L=38cm))
1-8-035-023-00 Трубка диаметр 1,52 мм длина 76 см (1.52mm tube(L=76cm))
1-8-035-025-00 Трубка силиконовая внутренняя флакона лизир. р-ра длина 10 см (Tube in lyse bottle (L=10cm))
1-2-035-001-10 Зубчатая рейка короткая (Short Rack)
1-2-035-033-10 Зубчатая шестеренка двигателя в сборе (Pinion Assembly)
1-2-035-031-11 Прижимной ролик механизма вакуумного шприца (Large Idler)
1-2-035-032-10 Черная шестеренка механизма вакуумного шприца (Gear Shaft Assembly)
 
optimizerДата: Вторник, 17.Май.2016, 07:42 | Сообщение # 169
Завсегдатай
У вас сообщений: 273
инженер
OFFлайн
Российская Федерация

ЦФО
Да, цены хороши, показательны по мышке PS/2 - 5034.78 руб. и апертурам - 67104.80 за шт, полагал МЭК лидирует. WBC:80um на 7600, такая же как и на BC2300,BC2600,BC2800,BC300 (80um) - http://ru.aliexpress.com/item.....UZJQdS
 
optimizerДата: Вторник, 17.Май.2016, 07:51 | Сообщение # 170
Завсегдатай
У вас сообщений: 273
инженер
OFFлайн
Российская Федерация

ЦФО
А вообще нужно наладить выпуск апертур, много поставлено было МЭКов по нац проекту 6410, где WBC & RBC тоже 80 мкм, между собой меняются, сделать такие как на Micros 60, RT 7600, Mindray шайбочки с калиброванным отверстием и клеить на МЭК, Б/у экземпляры апертур в ЛПУ найдутся )
 
zx19Дата: Вторник, 17.Май.2016, 07:52 | Сообщение # 171
Vse
OFFлайн
Российская Федерация

Саратов
biotech, а почему не продаёте зч на другие анализаторы? Сразу глупые вопросы, кто, откуда, зачем, ага не продадим без объяснения причин? Почему нельзя просто продать?
 
zx19Дата: Вторник, 17.Май.2016, 07:55 | Сообщение # 172
Vse
OFFлайн
Российская Федерация

Саратов
optimizer, если бы так просто. Рубин с дыркой. Там гидродинамическая фокусировка потока клеток, что бы при вхождении с апертуры их не крутило. К тому же допуски на размеры и плоскости требуют соответствующих технологий и оборудования.
 
optimizerДата: Вторник, 17.Май.2016, 08:16 | Сообщение # 173
Завсегдатай
У вас сообщений: 273
инженер
OFFлайн
Российская Федерация

ЦФО
Да, с отверстием сложновато, многое растолковывается в патентах производителей:

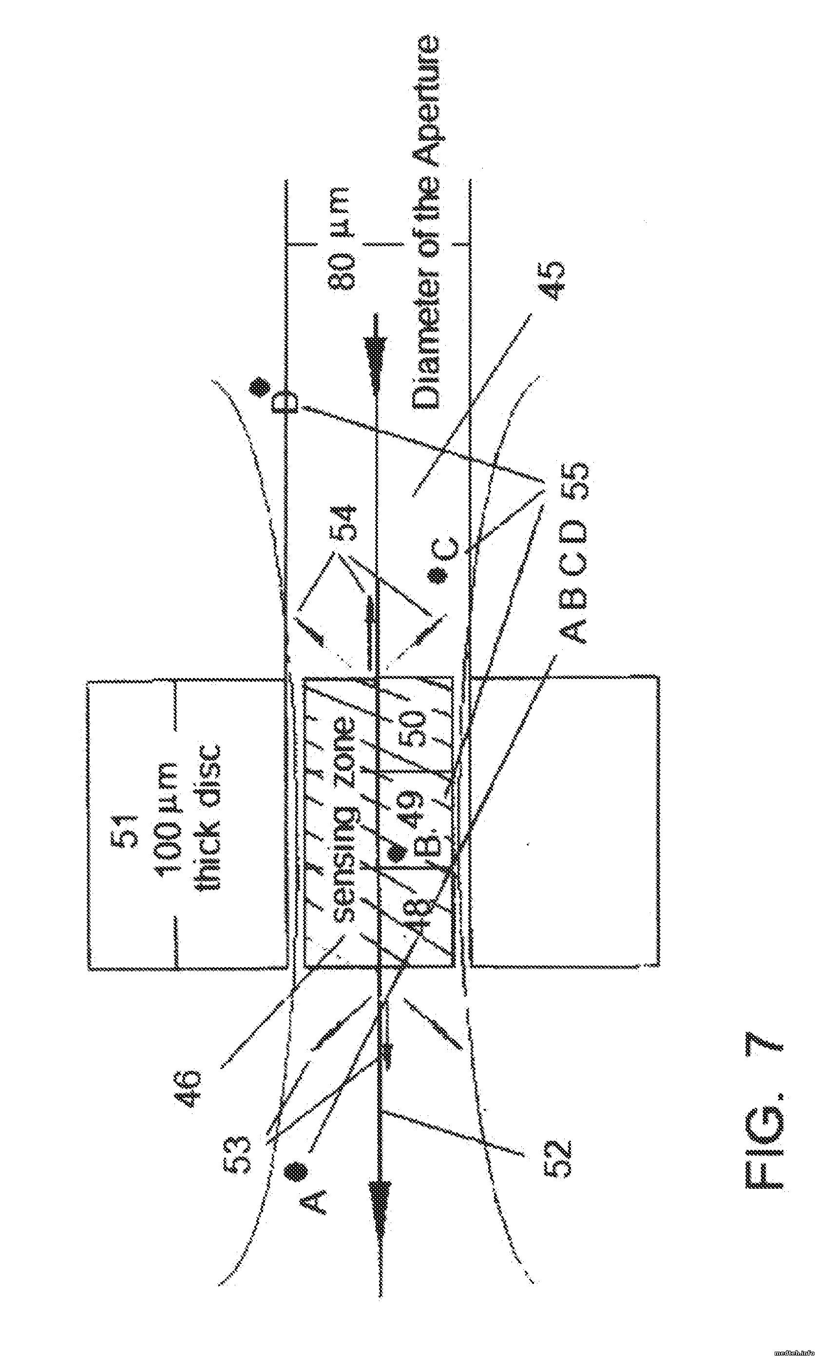
FIG. 6 and FIG. 7 illustrate the concept and realization of “Coaxial Illumination of Coulter Aperture”. In FIG. 6 in the center of the aperture disc 42 (thickness of 100 μm) is the Coulter aperture 41 (diameter of 50 μm to 80 μm). Focused laser beam 45 propagates along the common axis 43 (Coaxial illumination) and interacts with cells 44. In FIG. 7 laser beam 45 is focused in the middle of Coulter aperture, also the sensing zone 46, and propagates from right to left along the common axis 52. The diameter of the aperture is 80 μm and the thickness 51 of aperture disc is 100 μm. The fiber coupled laser 80 through fiber 79 entering the focus optics 75 in FIG. 9 and FIG. 10. The focused laser beam is designed to have focused waist about 60 μm to 75 μm (little less than aperture diameter 80 μm) and to have Rayleigh region about several aperture lengths (thickness 51, 100 μm). The focus optics should be designed to meet above two criterions (waist size and Rayleigh region) so the aperture can be illuminated uniformly. The sensing zone 46 can be divided to 3 portions, front portion 50, middle portion 49, and rear portion 48. The cells 55 (A, B, C, D) (see FIG. 7) are all be interrogated with laser beam but only cell B within the sensing zone can be detected, by using the spatial discriminating gate (implemented optically, such as the special designed detection optical system showed in FIG. 9 and FIG. 10) and temporal discriminating gate (implemented electronically). The forward scattering light 53, traveling to left and back scattering light 54, traveling to right, then can be detected by detection optics 81 and 77, respectively in FIG. 9 and FIG. 10.
4721814.png (70.1 Kb)


Сообщение отредактировал optimizer - Вторник, 17.Май.2016, 08:29
 
RZVTДата: Пятница, 20.Май.2016, 10:40 | Сообщение # 174
Участник
У вас сообщений: 78
инженер-ремонтник
OFFлайн
Украина

Кривой Рог
Всем привет!
У нас сейчас в ремонте два аппарата с одинаковым дефектом: не меряют PLT.
Приборы 2014 и 2012 г.в. ТО ни разу не проводилось. Судя по архиву измерений дефект проявился в апреле 2015г. Имела место попытка восстановить работоспособность приборов изменением инженерных настроек в июне 2015г- все в кашу.
При проведении работ по ТО выявлено и устранено:
1.Отсутствие высоковольтного импульса - замена микросхемы LS04 верней платы
2.напряжение на электродах камер, заполненных рабочим раствором 2-4В, следы ударов иглы по дну камер, трещины, прожег стенки камеры в зоне установки апертуры камеры RBC. После герметизации дефектов напряжение поднялось до 12В.
3.Дефект программного обеспечения (самопроизвольная перезагрузка системы) - переустановка ПО
4.Обрыв кабеля камеры WBC
Проведена тщательная промывка.
После всего правильно измеряется только гемоглобин и RBC. Выдается сообщение о перегрузке (overflow) на обоих приборах.
Кто что может посоветовать в данной ситуации?

Гистограммы при включении прибора, анализе бланка и контрольной крови прилагаются.
0606703.jpg (108.9 Kb) · 8824746.jpg (101.3 Kb) · 5556839.jpg (119.4 Kb)


Я должен видеть, чем я дышу
 
optimizerДата: Понедельник, 23.Май.2016, 10:46 | Сообщение # 175
Завсегдатай
У вас сообщений: 273
инженер
OFFлайн
Российская Федерация

ЦФО
Добрый день, на одном 7600 была проблема с подсчетов тромбоцитов, в самой камере RBC был отогнут контакт/электрод - должен вдоль стенки камеры, а был поперек камеры, г-образно, возможно пробоотборником был изогнут. Касательно в вашем случае overflow/перелива, нет нормального мануала с описанием ошибок. На др. анализаторе (МЭК) причина перелива была в клапане, забился сгустком.
 
MursalДата: Вторник, 24.Май.2016, 15:14 | Сообщение # 176
Стажер
У вас сообщений: 14
инженер
OFFлайн
Азербайджан

Baku
[b]Zdrastvuyte . Pojaluysta u koqo est proramnoe obespecenie Rayto 7600 na anqliyskom yazike, ya ustonovil na russkom , no ne ponimayu v cem problema oshibka vidaetsa Oshibka opticeskoqo soedinenie . esli mojete skinte ssilku na anqliyskom

M.M
 
МастерБакуДата: Вторник, 24.Май.2016, 21:30 | Сообщение # 177
У вас сообщений: 11269
инженер
OFFлайн
Российская Федерация

Нижний Новгород
http://www.mrclab.com/data/products/HA-17600_OPR.pdf с виду похож.
 
MursalДата: Среда, 25.Май.2016, 10:01 | Сообщение # 178
Стажер
У вас сообщений: 14
инженер
OFFлайн
Азербайджан

Baku
МастерБаку, Salam Aleykum , mne nujna proqramnoe obespecenie , koqda vklucayu vixodit oshibka . ошибка оптического соединение жидкостного шприца , после обслуживания нажмите ОК

M.M
 
RZVTДата: Понедельник, 04.Июл.2016, 16:21 | Сообщение # 179
Участник
У вас сообщений: 78
инженер-ремонтник
OFFлайн
Украина

Кривой Рог
Уважаемые коллеги!
Можно в этом приборе включить русскую раскладку клавиатуры?


Я должен видеть, чем я дышу
 
bulloДата: Вторник, 05.Июл.2016, 08:58 | Сообщение # 180
Участник
У вас сообщений: 178
зам. директора
OFFлайн
Российская Федерация

Чита
Цитата RZVT ()
Можно в этом приборе включить русскую раскладку клавиатуры?

Да, можно. Разблокируйте ОС. Добавьте в настройках языка любой язык, который вам нужен(иногда потребуется указать путь к флешке с установкой ХР(I386)). Перезагрузите и заблокируйте ОС. Таким же способом можно установить любые драйвера на оборудование.
 
PervujДата: Вторник, 05.Июл.2016, 18:12 | Сообщение # 181
Стажер
У вас сообщений: 38
Инженер
OFFлайн
Российская Федерация

Воронеж
Коллеги, умерла CF карта, образ на нвоую поставил подскажите есть ли у кого описание как настраивать механические и "электрические" параметры типо "WBC выход", нашел только как настроить положение игл

Airsoft
 
RZVTДата: Пятница, 15.Июл.2016, 12:28 | Сообщение # 182
Участник
У вас сообщений: 78
инженер-ремонтник
OFFлайн
Украина

Кривой Рог
Здравствуйте!
RT-7600 по контрольной крови настраивается легко и работает стабильно. По живой крови результат вызывает сомнения.
Очень сильно завышены лимфоциты
В приложении на фото 1 - 32 и 33-й анализы по контрольной пробе, на фото 2 - 44 и 45 тоже контрольная проба.
В чем проблема?
9513236.jpg (188.7 Kb) · 5137670.jpg (241.1 Kb)


Я должен видеть, чем я дышу
 
biotechДата: Пятница, 15.Июл.2016, 16:07 | Сообщение # 183
Участник
У вас сообщений: 64
инженер
OFFлайн
Российская Федерация

Москва
Цитата RZVT ()
RT-7600 по контрольной крови настраивается легко и работает стабильно. По живой крови результат вызывает сомнения.
Очень сильно завышены лимфоциты


Нужны гистограммы живой крови и контрольной. Сами по себе цифры результата ничего не дают. Нужно видеть какого размера клетки прибор посчитал как лейкоциты и как менялось распределение от измерения к измерению.
Какой уровень бланка получается на лейкоцитах? Фона нет?
Измерения 43-34 это одна и та же проба?
По вашим результатам гранулоцитов при измерении живой крови устойчиво мало. График смещен левее объема 150 Фл? Если да, то нужно разбираться с дозированием лизирующего раствора. Возможно его добавляется слишком много, что приводит к сжиманию клеток. На контрольной крови такого эффекта не наблюдается, т.к. там лейкоциты чаще всего моделируются латексными частицами, а на них разница осмотических давлений не влияет.
 
RZVTДата: Пятница, 15.Июл.2016, 16:47 | Сообщение # 184
Участник
У вас сообщений: 78
инженер-ремонтник
OFFлайн
Украина

Кривой Рог
biotech:
При измерении бланка все по нолям, фона нет. Измерения 43-34 разные пробы.
По поводу смещения графика - скорее да, по сравнению с контрольной пробой, он существенно смещен влево.
Передозировка раствора - возможно была. Он залил светодиод, в результате выводы сгнили и отпали. Новый светодиод, как ни странно, оказался интенсивным источником шумов, пришлось подбирать и ограничивать ток.
Может подобное иметь место при использовании растворов с критическим сроком годности?
Как правильно отрегулировать дозирование?


Я должен видеть, чем я дышу
 
biotechДата: Пятница, 15.Июл.2016, 17:08 | Сообщение # 185
Участник
У вас сообщений: 64
инженер
OFFлайн
Российская Федерация

Москва
Цитата RZVT ()
Может подобное иметь место при использовании растворов с критическим сроком годности?
Как правильно отрегулировать дозирование?


После окончания срока годности растворы ведут себя по разному. Если флакон все время стоял открытым или плохо закрытым, то из-за испарения концентрация его возрастет. Что может вызвать смещение графика влево.
По подбору лизирующего есть два основных критерия:
1) Полное лизирование эритроцитов (на графике нет высоких пиков илифона, забивающих лейкоциты и расположенных в диапазоне 30-90 Фл)
2) Слабое взаимодействие с лейкоцитами. Т.е. концентрация+объем лизирующего должны быть подобраны так, чтобы не вызывать чрезмерного градиента осмотического давления через мембрану клеток, что приведет к изменению объема и некорректному подсчету. Поскольку концентрацию лизирующего изменить нельзя, то подбирается объем дозирования. В сервисных настройках есть возможность изменить объем добавляемого лиз. раствора +- 20%. Нужно просто мониторить гистограмму лейкоцитов и добиваться красивого распределения клеток (четкий пик лимфоцитов - плато средних клеток-длинный пологий пик гранулоцитов) в диапазоне от 50 до 200 Фл.
 
RZVTДата: Пятница, 15.Июл.2016, 20:38 | Сообщение # 186
Участник
У вас сообщений: 78
инженер-ремонтник
OFFлайн
Украина

Кривой Рог
biotech:
Цитата biotech ()
2) Слабое взаимодействие с лейкоцитами. Т.е. концентрация+объем лизирующего должны быть подобраны так, чтобы не вызывать чрезмерного градиента осмотического давления через мембрану клеток, что приведет к изменению объема и некорректному подсчету. Поскольку концентрацию лизирующего изменить нельзя, то подбирается объем дозирования

Я так понял, что четких инструкций по коррекции дозирования лизирующего раствора не существует.
Для выбора правильной дозировки необходимо иметь образец с достоверными показателями и по нему настраивать ее.
Ничего не имею против. В принципе это правильно. Но методики измерения, заложенные в этот прибор, предусматривают гарантируемую повторяемость результатов измерения на весь срок годности рабочих растворов. Это в принципе.
Практически, в понедельник поеду разбираться на месте. Кстати сделаю снимки гистограмм, возможно это поможет.


Я должен видеть, чем я дышу
 
bulloДата: Понедельник, 18.Июл.2016, 05:52 | Сообщение # 187
Участник
У вас сообщений: 178
зам. директора
OFFлайн
Российская Федерация

Чита
Цитата Pervuj ()
как настроить положение игл

Положение иглы указаны на правой дверце. Для этого нужно зайти под логом "инженер". 1001. И в инженерных настройках сделать изменения.
 
RZVTДата: Понедельник, 18.Июл.2016, 13:04 | Сообщение # 188
Участник
У вас сообщений: 78
инженер-ремонтник
OFFлайн
Украина

Кривой Рог
На сколько сильно отличается состав лизирующего раствора MINDRAY M-30CPL :
Четвертичного аммония соли 50г/л
Nonion Surfaclant 15г/л
Изопропанол 0,1-1,5 мл/л
Этанол 1,5 мл/л
(состав указан на этикетке)
от лизирующего раствора для RT-7600?
Есть подозрение об их не взаимозаменяемости.


Я должен видеть, чем я дышу
 
antoniodriverДата: Вторник, 26.Июл.2016, 08:22 | Сообщение # 189
Участник
У вас сообщений: 93
инженер
OFFлайн
Российская Федерация

Краснодар
Всем привет! Пере установил образ CF, при включении теперь не загружается Windows, только при нажатии клавиши R выходит сообщение Missing MBR helper. Изначально слетело ПО, пробовал восстановить флешкой - не помогало, проверял диск на наличие ошибок - не было. Что делать подскажите пожалуйста shok
 
AlexiumДата: Вторник, 26.Июл.2016, 10:00 | Сообщение # 190
Инженер медтехник
OFFлайн
Российская Федерация

Саратов
antoniodriver, у меня только один вопрос - что, CF настолько дорого стоит, что каждый "специалист" пытается на старую "накатить" образ???
http://netler.ru/pc/console.htm
http://answers.microsoft.com/en-us....?auth=1
 
antoniodriverДата: Вторник, 26.Июл.2016, 14:49 | Сообщение # 191
Участник
У вас сообщений: 93
инженер
OFFлайн
Российская Федерация

Краснодар
Цитата Alexium ()
antoniodriver, у меня только один вопрос - что, CF настолько дорого стоит, что каждый "специалист" пытается на старую "накатить" образ???
http://netler.ru/pc/console.htm
http://answers.microsoft.com/en-us....?auth=1
что Вы напали на меня? Зачем менять рабочую CF? Я сталкиваюсь с переустановкой ПО этого прибора второй раз, их в нашем регионе не много(2!) остальные microcc20 по пальцам пересчитать. "специалист" - это что Вы имели в виду?
 
FerrymanДата: Среда, 31.Авг.2016, 09:50 | Сообщение # 192
Стажер
У вас сообщений: 29
инженер
OFFлайн
Российская Федерация

Саратов
Добрый день форумчане!
Поступил в ремонт аппарат MD-7600. Проблема в следующем, на плате управления клапанами находиться клапан обозначен 605F 201116N (Т1), что это такое кто знает? Похоже он не работает, залило водой из вакуум насоса,после выхода из строя клапана 5. Теперь насос начинает дёргаться пока не снимеш трубку трубку с насоса или клапана.После чего прибор начинает работать.
4017109.jpg (177.7 Kb)


Leopold

Сообщение отредактировал Ferryman - Среда, 31.Авг.2016, 10:00
 
AlexiumДата: Среда, 31.Авг.2016, 11:48 | Сообщение # 193
Инженер медтехник
OFFлайн
Российская Федерация

Саратов
Цитата Ferryman ()
на плате управления клапанами находиться клапан обозначен 605F 201116N (Т1), что это такое кто знает?

Шизофрения???
 
AlexiumДата: Среда, 31.Авг.2016, 11:54 | Сообщение # 194
Инженер медтехник
OFFлайн
Российская Федерация

Саратов
http://www.pduke.com/e-pduke/en_p_1.htm
 
FerrymanДата: Среда, 31.Авг.2016, 12:28 | Сообщение # 195
Стажер
У вас сообщений: 29
инженер
OFFлайн
Российская Федерация

Саратов
biotech, Добрый день.
1. Подскажите пожалуйста работает фирма или нет.
2.Обслуживаете анализаторы MD-7600.
3.Наличие запасных частей (605F клапан).
4.Консультации по наладке


Leopold
 
biotechДата: Среда, 31.Авг.2016, 14:48 | Сообщение # 196
Участник
У вас сообщений: 64
инженер
OFFлайн
Российская Федерация

Москва
Цитата Ferryman ()
Добрый день.
1. Подскажите пожалуйста работает фирма или нет.
2.Обслуживаете анализаторы MD-7600.
3.Наличие запасных частей (605F клапан).
4.Консультации по наладке


1) Да работаем
2) А что Медсервис свои приборы совсем не ремонтирует? Т.к. это тот же RT-7600, то можем и сделать.
3) Основные запчасти есть на складе. По запрошенному вами номеру ничего определить нельзя. На фото фрагменты двух плат - фронтальной и платы высокого напряжения. И та и другая заменяются целиком. Если нужен покомпонентный ремонт - это не к нам. Клапана в приборе двух типов - на два входа и на три входа.
4) Да консультируем, если не придется учить основам ремонта и диагностики.
 
AlexiumДата: Среда, 31.Авг.2016, 15:36 | Сообщение # 197
Инженер медтехник
OFFлайн
Российская Федерация

Саратов
Цитата biotech ()
А что Медсервис свои приборы совсем не ремонтирует?

До Медсервиса не добрался - за ремонт взялась другая организация, как видите какими силами.
Поддержкой в Саратове занимается Дастан-С, можете держать контакт со мной.
 
МастерБакуДата: Среда, 31.Авг.2016, 16:58 | Сообщение # 198
У вас сообщений: 11269
инженер
OFFлайн
Российская Федерация

Нижний Новгород
Цитата Ferryman ()
клапан обозначен 605F 201116N

Цитата Ferryman ()
Наличие запасных частей (605F клапан).

упёртый малый biggrin
 
degtiarevДата: Четверг, 08.Сен.2016, 22:38 | Сообщение # 199
Заглянувший
У вас сообщений: 1
ЛАБОРАНТ
OFFлайн
Украина

Киев
Привет уважаемым форумчанам. У меня на работе установили автоматический гематологический анализатор rt 7600 но вот есть одна проблемма: инструкция только на английском. Вобщем засада))) Я просмотрела всю тему и не нашла инструкций на него, если у кого есть инструкция на автоматический гематологический анализатор rt 7600 на русскомс или украинском языках пожалуйста поделитесь. Заранее благодарна спасителю!!!

Моя почта 7752430@gmail.com
 
МастерБакуДата: Четверг, 08.Сен.2016, 23:13 | Сообщение # 200
У вас сообщений: 11269
инженер
OFFлайн
Российская Федерация

Нижний Новгород
спросите у производителя http://www.kip-guide.ru/docs/49610-12.pdf
либо у официалов http://www.aicompanies.com/contact....=Select


Сообщение отредактировал МастерБаку - Четверг, 08.Сен.2016, 23:16
 
Поиск:



Статистика Форума
Последние обновления тем: Новые файлы хранилища: Новые участники: Top10 участников:
1. Стерилизатор паровой ...[skvorcovs77 (03.Апр.2026)]
2. Дефибриллятор Defi B ...[black475 (03.Апр.2026)]
3. Ремонт высоковольтног...[Jugene (02.Апр.2026)]
4. УЗИ Mylab 50 ф.ESAOTE...[seeker (01.Апр.2026)]
5. Маммограф МАММОСКАН ф...[FAINT (01.Апр.2026)]
6. Стерилизатор паровой ...[agolenda (01.Апр.2026)]
7. Дигитайзер Regius 110...[nicfeer (25.Мар.2026)]
8. КРД «РИМ АМ» ф.ООО &q...[bespalnik72 (22.Мар.2026)]
9. Анализатор биохимичес...[walkman8196 (20.Мар.2026)]
1. Apollo EZ service man...[25.Дек.2025]
2. VIVIX Setup Operation...[12.Окт.2025]
3. GenwareMP[10.Сен.2025]
4. Настройка реагентов M...[20.Авг.2025]
5. Philips HD3-EXP[13.Авг.2025]
6. Рентгеновское оборудо...[08.Авг.2025]
7. VersaMed iVent201 Сер...[13.Фев.2025]
8. Гелпик КРД Ренекс РЦ ...[09.Фев.2025]
9. Офтальмологическая ус...[31.Окт.2024]
10. Cardinal-Health-VELA-...[03.Окт.2024]
1. pavlik222[03.Апр.2026]
2. SeeOleg[03.Апр.2026]
3. Mikle[02.Апр.2026]
4. Medtex_VRN[01.Апр.2026]
5. evgvas[01.Апр.2026]
6. Instek[01.Апр.2026]
7. PospelovM[01.Апр.2026]
8. ATers[01.Апр.2026]
9. Valdis_57rus[01.Апр.2026]
10. kafar[31.Мар.2026]
МастерБаку[583]
Yulana34[177]
Serg74[160]
Dimitrius[129]
naves[122]
РОМУЛ[121]
bektyish[121]
madmac[116]
Алекс-200[114]
генаf[112]